Цена по запросу.
Скачать полное описание
Технические характеристики
|
Тип электропривода |
ЭПР-0,6кН |
ЭПР-1,8кН |
|
Входной сигнал |
Трехпозиционный |
|
|
Напряжение питания |
220В AC |
|
|
Номинальное усилие |
0,6 кН |
1,8кН |
|
Номинальный полный ход |
20 мм |
40 мм |
|
Номинальное время полного хода |
114 с |
210 с |
|
Потребляемая мощность, не более |
11 Вт |
17 Вт |
|
Выходное сопротивление источника сигнала |
1 кОм |
|
|
Монтажное положение |
Любое, кроме приводом вниз |
|
|
Температура окружающей среды |
от -10°C до 50°C |
|
|
Степень защиты по ГОСТ 14254-96 |
IP65 |
|
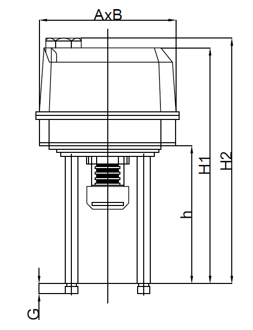
Массогабаритные характеристики

|
Модель привода |
Ход, мм |
А, мм |
В, мм |
H1, мм |
H2, мм |
h, мм |
Масса, кг |
|
ЭПР-0,6кН |
20 |
135 |
161 |
225 |
230 |
125 |
1,4 |
|
ЭПР-1,8кН |
40 |
178 |
178 |
250 |
275 |
145 |
2,9 |

Скачать ТР ТС 004, ТР ТС 020
Информация о доставке





