Купить электроприводы со встроенным регулятором давления непрямого действия.
Принцип работы ЭИМ заключается в управлении регулирующим клапаном с целью поддержания давления до или после клапана, а также перепада давления в соответствии с заданным значением.
Наличие в ЭИМ резервного источника питания позволяет продолжить процесс регулирования или установить его в заданное положение при пропадании сетевого питания. (ВЭП-241МВ; ВЭП-245МВ; ВЭП-248МВ). Время автономной работы 0,5-1 часа в зависимости от усилия электропривода.
ЭИМ производит постоянный опрос датчиков давления и изменяет положение регулирующего органа клапана, для устранения рассогласования между измеренным и заданным значением регулируемого параметра.
Задание режимов работы, значения давления и программирование дополнительных функций производится с клавиатуры блока в диалоговом режиме работы с информационными «окнами», выводимыми на ЖКИ – индикатор. Работа с информационными «окнами» осуществляется с помощью клавиатуры, расположенной на передней панели блока.
В процессе работы ЭИМ постоянно осуществляет самодиагностику. При возникновении неисправности на индикаторе в основном окне свободного доступа периодически появляется сообщение «Отказ». При возникновении нескольких неисправностей одновременно, сообщения о них выводятся на индикатор по очереди. Дополнительно контроллер отслеживает параметры привода (положение, возможное заклинивание), программно реагирует на возможные отклонения в работе и автоматически принимает меры по их устранению.
Достоинства ЭИМ для ГВС:
- широкий диапазон поддерживаемых давлений, перепадов давлений;
- высокая точность поддержания заданных параметров;
- резервный источник питания;
- возможность дистанционного управления через интерфейс RS-485;
- возможность изменения времени реакции на отклонение контролируемого параметра.
Обозначение при заказе ЭИМ со встроенным регулятором давления непрямого действия:

Пример обозначения:
- Механизм исполнительный электрический прямоходный ВЭП-241М-2700/63-20-220В,50Гц-IP54.
Механизм исполнительный электрический прямоходный ВЭП, устанавливаемый на клапан регулирующий проходной ВКРП (для пара), с номинальным усилием 2700Н, с номинальным временем полного хода 63 сек, с номинальным полным ходом 20 мм, с интеллектуальным управлением для регулирования давления или перепада давления и степенью защиты IP54. - Механизм исполнительный электрический прямоходный ВЭП-245МВ-1600/63-20-220В,50Гц-IP54.
Механизм исполнительный электрический прямоходный ВЭП, устанавливаемый на клапан регулирующий проходной седельный ВКСР, с номинальным усилием 1600Н, с номинальным временем полного хода 63 сек, с номинальным полным ходом 20 мм, с интеллектуальным управлением для регулирования давления или перепада давления, с резервным источником питания и степенью защиты IP54.
Количество датчиков давления указать при заказе электроприводов со встроенным регулятором давления непрямого действия.
Электроприводы прямоходные со встроенным регулятором давления или перепада давления непрямого действия с резервным источником питания (исполнение В)
|
Обозначение |
ВЭП-241М(В*), ВЭП-245М(В*), ВЭП-248М(В*) |
|||||||||||||
|
Номинальное усилие, Н |
700 | 1600 | 2700 | 3000** | 4000** | 7000** | ||||||||
|
Напряжение питающей сети |
220 В, 50 Гц и 24 В постоянного или переменного тока |
|||||||||||||
|
Потребляемая мощность, Вт |
6 | 10 | 24 | |||||||||||
|
Номинальный полный ход, мм |
20 | 20 | 32 | 20 | 32 | 20 | 32 | 50 | 50 | 80 | ||||
|
Номинальное время полного хода, с,(задается с клавиатуры) |
30
40 90 |
40
63 125 |
30
40 90 |
40
63 125 |
40
63 125 |
80
100 160 |
30
40 90 |
40
63 125 |
30
40 90 |
40
63 125 |
80
100 160 |
63
75 160 |
100
125 250 |
|
|
Управление |
Встроенный регулятор давления |
|||||||||||||
|
Защита двигателя от перегрузки |
Электронная |
|||||||||||||
|
Класс защиты от поражения электрическим током |
II | I | ||||||||||||
|
Диапазон регулируемого давления (перепада давления), МПа |
0,01-2,0 |
|||||||||||||
|
Дискретность задания давления (перепада давления),МПа |
0,01 |
|||||||||||||
| Количество подключаемых датчиков с сигналом 4-20 мА или 0-10 В (датчики давления) |
2 |
|||||||||||||
|
Входное сопротивление: — для сигнала 4-20 мА |
не более 250 Ом |
|||||||||||||
|
Тип интерфейса связи |
RS-485, протокол обмена Modbus RTU |
|||||||||||||
|
Режим работы по ГОСТ IEC60034-1-2014 |
Непрерывный |
|||||||||||||
|
Температура окружающей среды |
от -10 оС до +50 оС |
|||||||||||||
|
Степень защиты |
IP54 |
|||||||||||||
* Исполнение М(В) резервный источник питания позволяет продолжить процесс регулирования или установить его в заданное положение при пропадании сетевого питания.
** Электроприводы с номинальным усилием 3000 — 7000 Н не выпускаются с резервным источником питания.
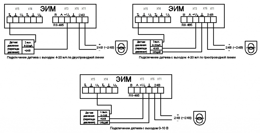
Электрические схемы подключения электропривода:
- Схема подключения электропривода при работе с одним датчиком давления. Питание 220В, 50Гц

2.Схема подключения ЭИМ при работе с двумя датчиками давления. Питание 220В, 50Гц.
3. Схема подключения электропривода для ГВС при работе с одним датчиком давления. Питание 24В.
4. Схема подключения электроприводов для отопления при работе с двумя датчиками давления. Питание 24В

Примеры схем подключения электропривода:
1. Подключение ВЭП-245М «До себя»

2. Подключение ВЭП-245М «После себя»

3. Подключение ВЭП 245М (Регулирование перепада давления на регуляторе)

4. Подключение ВЭП 245М






