Скачать полное описание
Технические характеристики
|
Номинальный диаметр, DN |
50–250 мм |
|
Номинальное давление, PN |
16 бар |
|
Температура рабочей среды |
От -10 °C до 80 °C |
|
Рабочая среда |
Вода и другие жидкости, совместимые с материалами конструкции |
|
Пропускная способность клапана Kvs |
38–1126 м3/ч |
|
Тип присоединения |
Фланцевый по ГОСТ 33259-2015 |
Общие технические характеристики
|
DN, мм |
50 |
65 |
80 |
100 |
125 |
150 |
200 |
250 |
|
Kvs, м3/ч |
38 |
65 |
98 |
152 |
238 |
343 |
610 |
1126 |
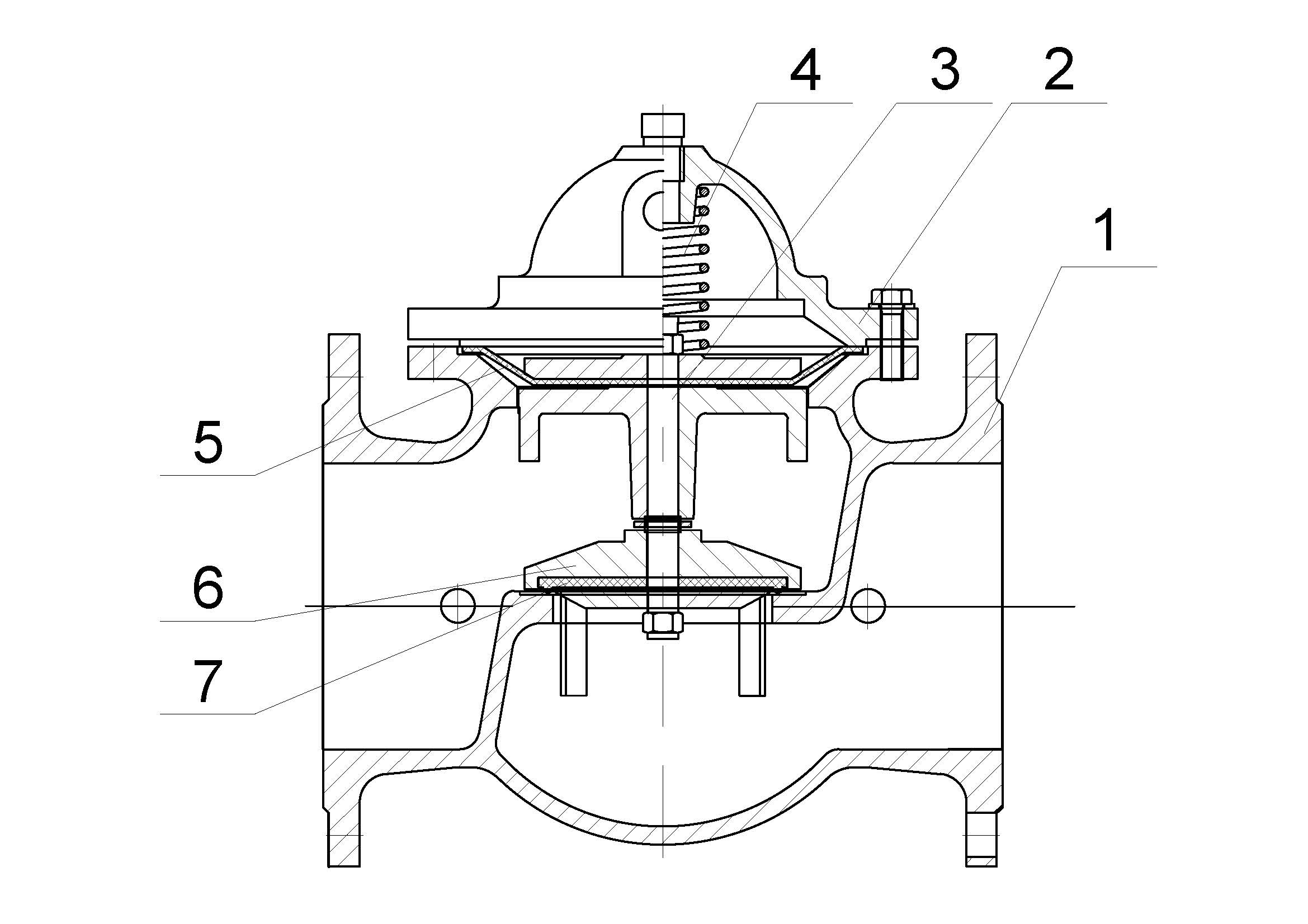
Спецификация материалов

|
№ |
Наименование |
Материал |
|
1 |
Корпус |
Высокопрочный чугун ВЧ45 |
|
2 |
Крышка |
Высокопрочный чугун ВЧ45 |
|
3 |
Шток |
Сталь Ст3пс |
|
4 |
Пружина |
Сталь Х18Н10Т |
|
5 |
Мембрана |
Натуральный каучук |
|
6 |
Плунжер |
Сталь 04Х18Н10 |
|
7 |
Прокладка |
NBR |
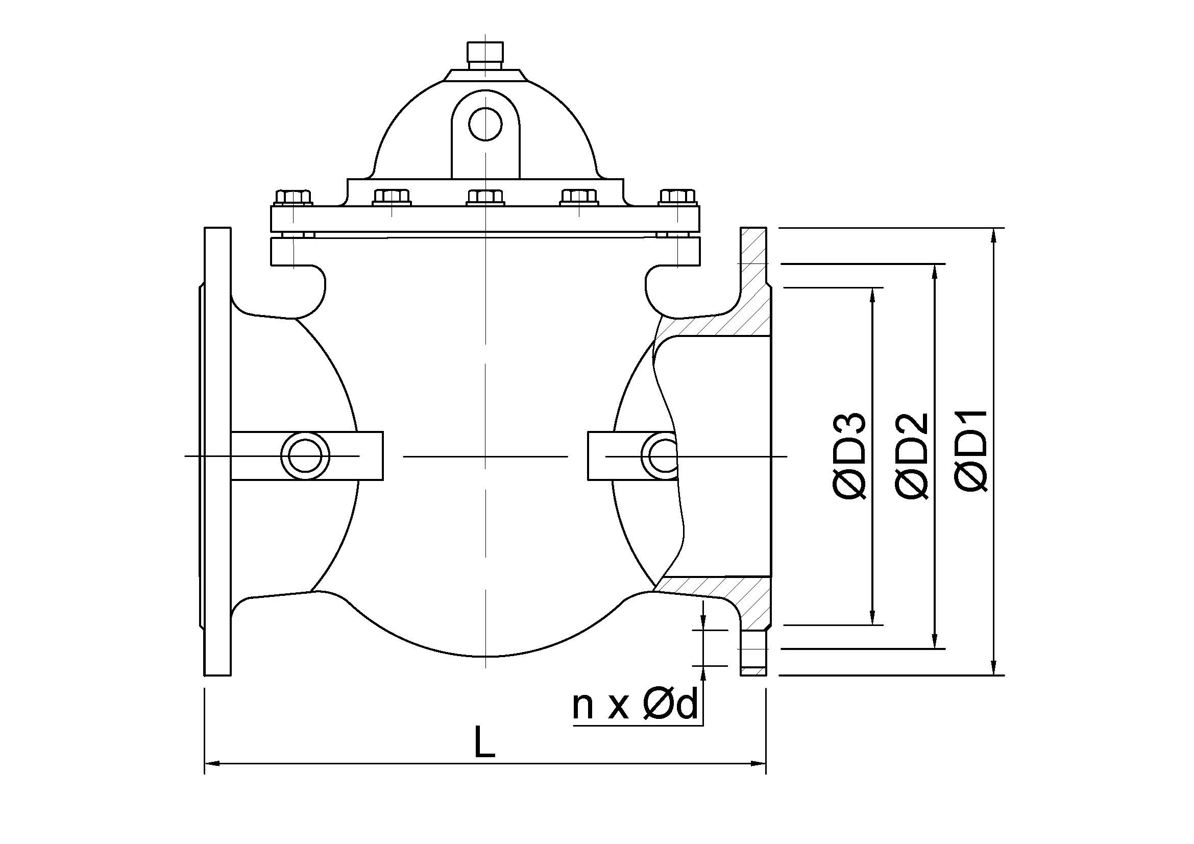
Массогабаритные характеристики

|
DN |
L, |
øD, |
øD1, |
øD2, |
nx ød, |
Масса, |
|
50 |
203 |
165 |
125 |
99 |
4х19 |
18,0 |
|
65 |
216 |
185 |
145 |
118 |
4х19 |
23,5 |
|
80 |
241 |
200 |
160 |
132 |
8х19 |
28,0 |
|
100 |
292 |
220 |
180 |
156 |
8х19 |
39,0 |
|
125 |
330 |
250 |
210 |
184 |
8х19 |
47,0 |
|
150 |
356 |
285 |
240 |
211 |
8х23 |
84,0 |
|
200 |
458 |
340 |
295 |
266 |
12х23 |
138,0 |
|
250 |
530 |
405 |
355 |
319 |
12х28 |
264,0 |
Схема обвязки

|
№ |
Наименование |
|
1 |
Основной клапан |
|
2 |
Фильтр самопромывной |
|
3 |
Соленоидный клапан (пилот) |
|
4 |
Шаровые краны (по запросу) |
|
5 |
Импульсная трубка (латунь, по запросу нержвеющая сталь или пропилен) |
Скачать

Скачать ТР ТС 010

Скачать ТР ТС 032

Скачать гигиенический сертификат

Скачать СЕРТЭНЕРГО

Скачать сертификат сейсмостойкости
Информация о доставке

Скачать опросный лист





