Диапазоны измерения:
- разность давлений (ДД) — 1,6кПа…16МПа;
- избыточное давление (ДИ) — 40кПа…25МПа;
- абсолютное давление (ДА) — 100кПа…16 МПа;
- гидростатическое давление (ДГ) — 40 кПа … 250 кПа.
В ПД используются тензопреобразователи (сенсоры) на основе кремниевых тензорезисторов на сапфировой мембране “Кремний на сапфире” (КНС).
ПД выполнен в нескольких конструктивных исполнениях: исполнение фланцевое, исполнение штуцерное с жидкостью, исполнение штуцерное без жидкости, исполнение специальное (штуцерное, фланцевое).
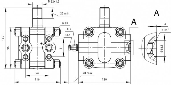
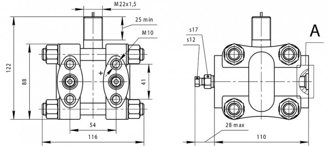
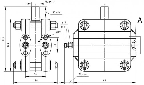
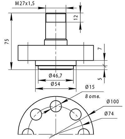
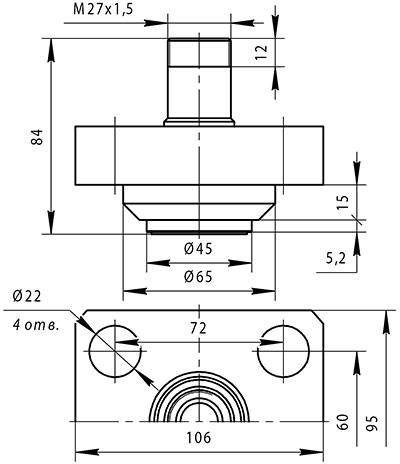
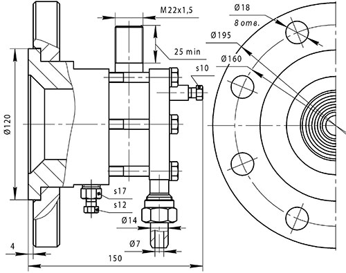
ПД фланцевого исполнения конструктивно выполнен в виде измерительно-преобразовывающего корпуса в сборе с фланцами. Фланцы обеспечивают присоединение к процессу по резьбе К1/4 или через устанавливаемый клапанный (вентильный) блок. На штуцере корпуса выполнена резьба М22х1,5.
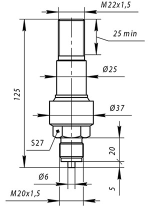
ПД штуцерного исполнения с жидкостью выполнен в виде единого измерительно-преобразовывающего корпуса. Корпус включает в себя разделительную мембрану, которая защищает тензопреобразователь от агрессивной среды. Измеряемая величина от мембраны на чувствительный элемент передается залитой во внутреннюю полость жидкостью. Корпус обеспечивает присоединение к процессу по резьбе М20х1,5 или через устанавливаемый клапанный (вентильный) блок. На штуцере корпуса выполнена резьба М22х1,5.
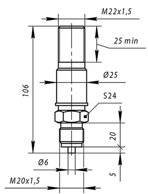
ПД штуцерного исполнения без жидкости выполнен в виде единого измерительно-преобразовывающего корпуса. Измеряемая величина подается непосредственно на чувствительный элемент. Корпус обеспечивает присоединение к процессу по резьбе М20х1,5 или через устанавливаемый клапанный (вентильный) блок. На штуцере корпуса выполнена резьба М22х1,5.
ПД специального исполнения могут быть выполнены по любому из приведенных выше конструктивному исполнению с отличием по присоединению к процессу и по резьбе на штуцере.
Электрическое питание ПД осуществляется постоянным током не более 1,5 мА.
Диапазон выходного сигнала от 90 мВ до 400 мВ в зависимости от модели.
Степень защиты ПД от воздействия пыли и воды соответствует группе IP65 по ГОСТ 14254.
Внутренние замкнутые полости ПД заполнены жидкостью ПМС-6 по ГОСТ 13032-77. Для исполнения с кодом “-К” — жидкостью ПЭФ-70/110 по ТУ 6-02-1072-76.
Модельный ряд преобразователей ДА, ДИ
| Измеряемая величина | Конструктивное исполнение | Модель | Предел измерения (ПИ) |
Допускаемое давление перегрузки | Масса, кг, не более | |
|---|---|---|---|---|---|---|
| кПа | МПа | МПа | ||||
| Абсолютное давление (ДА) | Штуцерное без жидкости | 2041 | 600 | – | 1 | 0,4 |
| 2051 | – | 2,5 | 4 | |||
| 2057 | – | 6 | 9 | |||
| 2061 | – | 16 | 25 | |||
| Штуцерное с жидкостью | 2042 | 600 | – | 1 | 0,5 | |
| 2050 | – | 2,5 | 4 | |||
| 2056 | – | 6 | 9 | |||
| 2060 | – | 16 | 25 | |||
| Избыточное давление (ДИ) | Штуцерное без жидкости | 2131 | 100 | – | 0,2 | 0,4 |
| 2141 | 600 | – | 1 | |||
| 2151 | – | 2,5 | 4 | |||
| 2157 | – | 6 | 9 | |||
| 2161 | – | 16 | 25 | |||
| 2171 | – | 100 | 110 | |||
| Штуцерное с жидкостью | 2140 | 600 | – | 1 | 0,5 | |
| 2150 | – | 2,5 | 4 | |||
| 2156 | – | 6 | 9 | |||
| 2160 | – | 16 | 25 | |||
| Специальное штуцерное с жидкостью | 2172 | – | 60 | 70 | 1,4 | |
| 2173 | – | 60 | 70 | 2,2 | ||
Модельный ряд преобразователей ДД, ДГ
| Измеряемая величина | Конструктивное исполнение | Модель | Предел измерения | Предельно допускаемое рабочее избыточное давление, МПа | Масса, кг, не более | |
|---|---|---|---|---|---|---|
| кПа | МПа | |||||
| Разность давлений (ДД) | Фланцевое | 2410 | 1,6 | – | 4 | 10 |
| 2414 | 4,0 | – | 6 | 5 | ||
| 2420 | 10 | – | 10 | 4,6 | ||
| 2430 | 40 | – | 25 | |||
| 2434 | 40 | – | 40 | |||
| 2440 | 250 | – | 25 | |||
| 2444 | 250 | – | 40 | |||
| 2450 | – | 1,6 | 25 | |||
| 2450 | – | 2,5* | 25 | |||
| 2460 | – | 16 | 25 | |||
| Гидростатическое давление (ДГ) | Специальное фланцевое | 2530 | 40 | – | 4 | 8 |
| 2540 | 250 | – | ||||
| *— температурный диапазон равен 70 °С (например, температурный диапазон от минус 20 °С до плюс 50 °С, или от 0 °С до плюс 70 °С). | ||||||
Метрологические характеристики и характеристики выходного сигнала
| Параметр | Конструктивное исполнение | Значение | |||
|---|---|---|---|---|---|
| Диапазон выходного сигнала при питании постоянным током не менее 1,5 мА, мВ | штуцерное с ПИ 100 кПа | 90…200 | |||
| штуцерное с ПИ 600 кПа | 150…400 | ||||
| все остальные | 170…400 | ||||
| Сопротивление цепей питания и выходного сигнала, кОм | штуцерное | 3,5…4,85 | |||
| фланцевое | 4,5 ± 0,35 | ||||
| Нелинейность выходного сигнала, %, не более | штуцерное | 0,5 | |||
| фланцевое | 1,0 | ||||
| Параметр | Модель | Код точности | |||
| А0 | А | А1 | В | ||
| Вариация выходного сигнала, %, не более | все | 0,1 | 0,2 | ||
| Изменение U0 и UД, вызванное изменением T на каждые 10 °С, %, не более | все | 1 | |||
| 2410 | 0,4 | 1 | |||
| Изменение U0 и UД преобразователей ДД и ДГ фланцевого исполнения, вызванное изменением Pизб на 1 МПа в диапазоне изменения Pизб, %, не более | 2410, 2414 | 0,125 | 0,2 | ||
| 2420 | 0,04 | 0,08 | |||
| 2430, 2434, 2440, 2444 | 0,012 | 0,04 | 0,025 | ||
| 2450, 2460 | 0,012 | 0,025 | 0,025 | ||
| 2530, 2540 | 0,08 | ||||
| Примечание:
U0 — начальное значение выходного сигнала; T — температура окружающего воздуха; UД — диапазон выходного сигнала; Pизб — двустороннее избыточное давление. |
|||||
Материалы, контактирующие с рабочей средой
| Код материала | Материал | Применяемость | |
|---|---|---|---|
| мембраны или ЧЭ* | корпусных деталей, контактирующих с рабочей средой |
||
| 02 | 36НХТЮ | Сталь 12Х18Н10Т | Только для фланцевого исполнения |
| 316L | Только для штуцерного исполнения с разделительной мембраной | ||
| 06 | 316L | 316L | |
| 09 | Титановый сплав | Титановый сплав | Только для штуцерного исполнения без разделительной мембраны |
| 11 | Титановый сплав | Сталь 12Х18Н10Т | |
| Для фланцевого исполнения материал уплотнительных колец – резина НО-68-1 (или 7В-14).
*— ЧЭ – чувствительный элемент. |
|||
| Параметр | Значение |
|---|---|
| Средний срок службы при условии, что измеряемая среда неагрессивна к применяемым материалам, лет, не менее | 16 |
| Средняя наработка до отказа, часов, не менее | 250000 |
| Количество выдерживаемых циклов воздействия переменного давления или разрежения, изменяющегося не более чем на 50 % от предела измерения преобразователя | 20000 |
| Преобразователи являются устойчивыми к воздействию температуры окружающего воздуха в диапазоне, °С | -50…+90 |
| Рабочий диапазон температур окружающего воздуха, °С | -40…+80 |
Гарантийные обязательства
| Параметр | Значение |
|---|---|
| Гарантийный срок эксплуатации, месяцы | 36 со дня ввода в эксплуатацию, но не более 42 со дня изготовления |
Комплект поставки
| Наименование | Количество |
|---|---|
| Преобразователь давления | 1 |
| Паспорт | 1 |
Обозначение при заказе
| ПД | 2420 | А | 02 | ТУ 4212-002-59541470-2009 |
|---|---|---|---|---|
| 1 | 2 | 3 | 4 | 6 |
- Наименование.
- Модель.
- Код точности (по таблице «Метрологические характеристики и характеристики выходного сигнала»).
- Код материалов, контактирующих с рабочей средой.
- Технические условия.














