Купить счетчик воды СКМ-2К
Теплосчетчики ультразвуковые СКМ-2К применяется для учета теплопотребления на объектах коммунального и производственного назначения.
Состав счетчика воды СКМ-2К
1) вычислитель СКМ-2К;
2) преобразователь расхода жидкости ультразвуковой;
3) комплект термопреобразователей сопротивления с характеристикой Pt500.
В счетчиках СКМ-2К вычислитель может устанавливаться непосредственно на первичном преобразователе расхода или на стене (в шкафу).
Схема измерения счетчика воды СКМ-2К, исполнения и соответствующие им формулы расчета тепловой энергии

Условное обозначение при заказе счетчика воды СКМ-2К

Технические характеристики счетчика воды СКМ 2К
- количество каналов измерения расхода: до 1;
- количество каналов измерения температуры: до 2;
- диапазон измерения температур, 0 — 150°С;
- диапазон измерения разности температур, 3 -150°С;
- цена деления младшего разряда индикации температуры — 0,01°С;
- питание вычислителя: литиевая батарея (ресурс 6 лет), внешний источник 9- 24В;
- передача информации через интерфейсы M-bus, RS-485, ИК порт, возможность объединения теплосчетчиков в единую сеть.
Типоразмеры преобразователей расход СКМ-2К (ППР)
Номинальные диаметры ППР (DN) и соответствующие им минимальные (Qмин), номинальные (Qn) и максимальные (Qмакс) значения расхода, масса, падение давления (ΔPn), вес выходного импульса.
| DN, мм | Qмин, м³/ч | Qмакс, м³/ч | ΔPn при 0,7 Qмакс, кПа | Вес импульса, л/имп |
Масса не более, кг |
| 15 |
0,03 |
3 | 10 | 0,01-0,1 | 1 |
| 20 | 0,05 | 5 | 10 | 0,015 — 0,15 |
5 |
| 25 | 0,07 | 7 | 8 | 0,01 — 0,1 | 8 |
| 32 | 0,12 | 12 | 7,5 | 0,02 — 0,2 | 9 |
| 40 | 0,2 | 20 | 7 | 0,04 — 0,4 | 10 |
| 50 | 0,3 | 30 | 6,2 | 0,04 — 0,4 | 12 |
| 65 | 0,5 | 50 | 6,0 (2,5) | 0,01 — 0,1 | 14 |
| 80 | 0,8 (1,8) | 80 (180) | 2,5 | 0,15 — 1,5 | 16 |
| 100 | 1,2 (2,8) | 120 (280) | 2,5 | 0,5 — 5 | 20 |
| 150 | 6,3 | 630 | 2,5 | 0,08 — 8 | 26 |
| 200 | 11 | 1100 | 2,5 | 1,4 — 14 | 40 |
| 250 | 18 | 1800 | 2,5 | 3,1 — 31 | 50 |
| 300 | 25 | 2500 | 2,5 | 5 — 5 | 60 |
Регистрация и хранение результатов измерений счетчика воды СКМ 2К
Архив рассчитан на следующие периоды:
- до 45 суток — для хранения среднечасовых значений;
- до 33 месяцев — для хранения среднесуточных значений.
Пределы допускаемой относительной погрешности измерения объема счетчиком СКМ-2К не превышаю значений, указанных ниже:
|
Класс точности по |
Диапазон измерения расхода, м3/ч |
Пределы относительной погрешности |
|
2 (В) |
0,04qp⩽q⩽qp |
±2 |
|
qi⩽q<0,04qp |
± (2 + 0,02 qp / q), но не более 5% |
Требования, предъявляемые к длине прямых участков трубопровода до и после преобразователя расхода СКМ-2:
- до преобразователя DN 15-20 не менее 3DN*
- после преобразователя DN 15-20 не менее 1DN*
Другие требования к прямолинейным участкам для теплосчетчиков СКМ-2К идентичны требованиям для счетчиков-расходомеров ВИРС-У.
*Обеспечиваются комплектными штуцерами с накидными гайками.
Условия эксплуатации счетчика воды СКМ-2К
| Степень защиты, обеспечиваемая оболочками по ГОСТ 14254 |
IP56 |
| Климатические условия при эксплуатации: — температура окружающей среды, °С: — относительная влажность окружающего воздуха, % — атмосферное давление, кПа: |
от +5 до +55 |
| Средний срок службы, лет, не менее |
12 |
Габаритные размеры ППР теплосчетчика СКМ-2К
Габаритные размеры ППР теплосчетчика СКМ-2К идентичны габаритным размерам счетчиков-расходомеров ВИРС-У.
Габаритные и установочные размеры датчиков потока счетчика воды СКМ-2К с резьбовым соединением доG2

| Qp, м³/ч | Резьбовое присоединение | Размеры, не более, мм | ||||
| L | A | B1 | B2 | B3 | ||
| 1,5 | G3/4 | 110 | 12 | 22 | 44 | 20 |
| 2,5 | G1 | 130 | 14 | 28 | 51 | 25 |
| 3,5 | G1 1/4 | 260 | 16 | 35 | 57 | 30 |
| 6,0 | G1 1/2 | 260 | 18 | 40 | 63 | 40 |
| 10 | G2 | 300 | 20 | 54 | 76 | 47 |
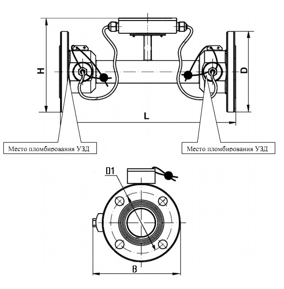
Габаритные и установочные размеры фланцевых ППР СКМ-2К «Прямая труба с сужением»

| DN | Размеры, мм | ||||
| L | D | D1 | H | B | |
| 15 | 165 | 95 | 65 | 100 | 110 |
| 20 | 190 | 105 | 75 | 110 | 120 |
| 25 | 260 | 114 | 85 | 120 | 135 |
| 32 | 260 | 135 | 100 | 140 | 150 |
| 40 | 300 | 145 | 110 | 150 | 160 |
| 50 | 270 | 160 | 125 | 165 | 185 |
| 65 | 350 | 180 | 145 | 190 | 205 |
| 80 | 350 | 195 | 160 | 200 | 220 |
| 100 | 350 | 215 | 180 | 225 | 230 |

| DN | Размеры, мм | ||||
| L | D | D1 | H | B | |
| 50 | 500 | 155 | 125 | 200 | 350 |
| 65 | 600 | 180 | 145 | 200 | 350 |
| 80 | 700(500) | 195 | 160 | 215 | 220 |
| 100 | 700(500) | 215 | 180 | 235 | 230 |
| 125 | 600(500) | 245 | 210 | 255 | 270 |
| 150 | 600(500) | 280 | 240 | 300 | 305 |
| 200 | 600 | 335 | 295 | 355 | 360 |
| 250 | 600 | 405 | 355 | 425 | 430 |
| 300 | 600 | 460 | 410 | 480 | 485 |






