Используются для измерения температуры в энергетике, химической, металлургической, в сфере ЖКХ и энергосбережения и других отраслях промышленности.
ТС взрывозащищенного исполнения могут применяться на объектах в зонах класса 0; 1 и 2 по ГОСТ IEC 60079-14-2013, где возможно образование смесей горючих газов и паров с воздухом категории IIC по ГОСТ IEC 60079.14-2013 температурной группы Т1…Т6 включительно.
Основные технические характеристики
Таблица 1
| Основные характеристики | Значение |
| Тип датчика | ТСП, ТСМ |
| Номинальная статическая характеристика чувствительного элемента (НСХ) | Pt100, Pt500, Pt1000,50П, 100П, 50М, 100М |
| Взрывозащита | «взрывонепроницаемая оболочка» 1Ех d IIC Т6GbХ, 1Ех d IIC Т5GbХ, 1Ех d IIC Т4 Gb Х, кроме ТС модификаций -03,-06, -09.
«искробезопасная электрическая цепь» – 0Ех ia IIC Т6 Ga Х,0Ех ia IIC Т5 Ga Х, 0Ех ia IIC Т4 Ga Х в |
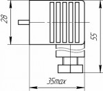
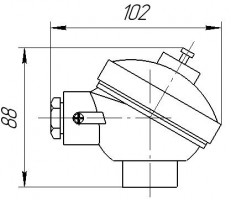
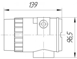
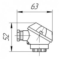
| Материал корпуса | алюминиевый сплав, нержавеющая сталь, термостойкий пластик |
| Фиксация крышки корпуса | винт, защёлка, резьбовая |
| Степень пылевлагозащиты | IP54, IP55, IP5Х, IP65, IP66, IP67, IP68
(в зависимости от исполнения корпуса) |
| Измерительный преобразователь | с выходом 4-20,20-4, 0-5 мА, 4-20 + HART, Profibus (PA) |
| Тип присоединения к процессу | без крепежных элементов,штуцер, фланец |
| Конструктивное исполнение защитной арматуры | без штуцера, неподвижный штуцер, подвижный штуцер, с утонением, подпружиненный штуцер |
| Длины монтажной части | от 25 до 60 000 мм |
| Подключения к внешней цепи | клеммная колодка, ИП, в т.ч. с ЖКИ, свободные выводы |
| Вид климатического исполнения по ГОСТ 15150-69 | УХЛ3.1 или У1.1 |
| Средний срок службы | до 20 лет в зависимости от измеряемой среды и температуры применения |
| Наработка на отказ | в зависимости от температуры применения до 45 000 часов |
Условия эксплуатации
Вид климатического исполнения ТС по ГОСТ 15150-69: УХЛ3.1 или У1.1, но для работы при температуре окружающей среды -см. в таблице 2, верхнем значении относительной влажности 98 % (при 25 °С) и более низких температурах без конденсации влаги
Таблица 2
| Исполнение ТС | Температура окружающей среды, °С | |
| исполнение без взрывозащиты | взрывозащищенное исполнение (Ex ia, Ex d) | |
| без ИП | от минус 62 до +120°С | от минус 62 до +95°С (Т4);
от минус 62 до +85°С (Т5, Т6) |
| без корпуса с удлинительными проводами | от минус 62 до +180°С | |
| с ИП | от минус 50 до +85°С (в зависимости от применяемого ИП) | |
| с ИП с ЖКИ
(планируется в 2023 году) |
от минус 40 до +85°С (в зависимости от применяемого ИП) | |
Для ТС в корпусе с обогревом или в корпусе с термочехлом нижний предел температуры окружающей среды составляет минус 70 °С.
ТС могут изготавливаться для эксплуатации в более узких пределах температур окружающей среды.
Термосопротивления
| Модификации | Применение | Конструктивные особенности | |
| Диаметр защитной арматуры / погружаемой
части |
Исполнения | ||
| 01 | наиболее распространенные конструкции для, практически всех отраслей промышленности. Могут использоваться как с непосредственным контактом с измеряемой средой, так и с различными защитными гильзами. | 6; 8; 10 | 1 без штуцера;
2 подвижный штуцер; 3 неподвижный штуцер; 4 с утонением; 5 подпружиненный штуцер |
| 03 | группа бескорпусных преобразователей. Обладают низкой тепловой инерцией. В зависимости от исполнения могут применяться для измерения температуры в труднодоступных местах, температуры различных поверхностей, температуры подшипниковых узлов, температуры корпусов и головок червячных прессов. Могут применяться с выносными корпусами. | 1,5; 2; 3;
4; 4,5; 5; 6; 8; 10 |
1 отсутствие корпуса;
2 возможность изгиба; 3 свободные выводы кабеля (удлинительного кабеля); 4 исполнения с разъемом; 5 контактные пластины (съемные и несъемные) |
| 05 | кабельные преобразователи, имеют исполнения без присоединительного штуцера, с подвижным или неподвижным присоединительными штуцерами. | 1,5; 2; 3;
4; 4,5; 5 |
1 термопарный кабель (диаметром от 1,5 до 6 мм);
2 RTD (диаметром 4,5 и 6 мм) кабель |
| 06 | предназначены для измерения температуры окружающего воздуха как внутри помещений так и снаружи. | наличие специального алюминиевого
или пластикового корпуса для настенного монтажа |
|
| 09 | можно применять как самостоятельные изделия, так и в качестве термометрических вставок. Возможны исполнения с клеммной колодкой, свободными выводами, с ИП, с ИПс
ЖКИ. |
1 термопарный кабель (диаметромот 1,5 до 6 мм);
2 RTD (диаметром 4,5 и 6 мм) кабель |
|
ТС без ИП
| Класс
допуска |
Диапазон измерений температуры, °С | Допуск по ГОСТ 6651-2009, °С |
| Для ТС ТСП с НСХ 50 П и 100 П (a = 0,00391 °С*), Pt 100, Pt 500, Pt 1000 (a = 0,00385 °С*) | ||
| АА
А В С |
от -50 до +250
от -100 до +450 от -196 до +660 от -196 до +660 |
±(0,1+0,0017|t|)
±(0,15+0,002|t|) ±(0,3+0,005|t|) ±(0,6+0,01|t|) |
| Для ТС ТСМ с НСХ 50 M, 100 М (a = 0,00428 °С*) | ||
| А
В С |
от -50 до +120
от -50 до +200 от -180 до +200 |
±(0,15+0,002|t|)
±(0,3+0,005|t|) ±(0,6+0,01|t|) |
| Примечание: |t| – абсолютное значение температуры, °С. | ||
ТC с ИП с выходным сигналом постоянного тока
| ТС (НСХ) | Диапазон выходного сигнала, мА | Диапазон измерений температуры, °С | Пределы допускаемой основной погрешности | |
| приведенной, ±% | абсолютной, °С | |||
| ТСП (50 П, 100 П,
Pt 100, Pt 500, Pt 1000) |
от 4 до 20,
от 20 до 4, от 0 до 5 |
от -196 до +660 | 0,15; 0,25; 0,5 | ±0,4 |
| ТСМ (50 М, 100 М) | от -50 до +200 | ±0,5 | ||
Значение допускаемой основной погрешности выбирается из значений, установленных в процентах от диапазона измерений, выбранного при заказе, или в °С, в зависимости от того, что больше. Разность верхнего и нижнего пределов диапазона измерений должна быть не менее 200 °С для ТС с допускаемой основной погрешностью ±0,15 %, не менее 100 °С для ТС с допускаемой основной погрешностью ±0,25 % и не менее 50 °С для остальных ТС.
ТС с ИП с выходным токовым сигналом от 4 до 20 мА/HART
| Исполнение датчика (НСХ) | Диапазон выходного сигнала | Диапазон измерений температуры, °С | Пределы допускаемой основной погрешности | |
| приведенной, % (HART, %) | абсолютной, °С | |||
| ТСМ (100 М) | от 4 до 20 мА /HART | от -50
до +200 |
0,15 (0,15); 0,25 (0,25);
0,5 (0,5); 1,0 (1,0) |
±0,5 |
| ТСП (100 П, Pt 100, Pt 500,
Pt 1000) |
от -196
до +660 |
±0,4 | ||
Значение допускаемой основной погрешности выбирается из значений, установленных в процентах от диапазона измерений, выбранного при заказе, или в °С, в зависимости от того, что больше. Разность верхнего и нижнего пределов диапазона измерений должна быть не менее 200 °С для ТС с допускаемой основной погрешностью ±0,15 %; не менее 100 °С для ТС с допускаемой основной погрешностью ±0,25 % и не менее 50 °С для остальных ТС.
Пределы допускаемой основной погрешности ±0,15 % для ТСП могут быть обеспечены на диапазоне температур от минус 50 до плюс 500 °С, для ТСМ – на диапазоне температур от минус 50 до плюс 200 °С.
ТС с ИП с выходным цифровым сигналом Profibus (РА)
| Исполнение датчика (НСХ) | Тип выходного сигнала | Диапазон измерений температуры, °С | Пределы допускаемой основной приведенной погрешности, γ, % |
| ТСП (Pt100, Pt500, Pt1000) | Стандарт
Profibus (PA) |
от -196 до +660 | ±0,25; ±0,5; ±1,0 |
Разность верхнего и нижнего пределов диапазона измерений должна быть не менее100 °С для ТC с пределом основной погрешности ±0,25 % и не менее 50 °С для остальных ТC.
Пределы допускаемой дополнительной погрешности ТC c ИП, вызванной изменением температуры окружающего воздуха в рабочем диапазоне температур на каждые 10 °С от (20±2) °С, не превышают:
– 0,15% – для ТC с пределами допускаемой основной погрешности ±0,15; ±0,25; ±0,3%;
– 0,25% – для ТС с пределами допускаемой основной погрешности ±0,4, ±0,5%,
– 0,5% – для ТС с пределом допускаемой основной погрешности ±1%.
1) При указании кода С0 маркируется степень защиты IP66, фактическая степень защиты зависит от установленного заказчиком кабельного ввода.
3) Вариант исполнения кабельного ввода с защитой по IP67. В коде заказа через дробь необходимо указать степень защиты IP67 (например, К12/IP67 или К12/Н10/IP67).
Из никелированной латуни:С1, К12, К14, 2КБ12, 2КБ14, К12М15, К14М15, К14М18, К12М20, К14М20.
Из нержавеющей стали 12Х18Н10Т: С1/Н10, К12/Н10, К14/Н10, 2КБ12/Н10, 2КБ14/Н10, К12М15/Н10, К14М15/Н10, К14М18/Н10, К12М20/Н10, К14М20/Н10.
Корпус:
Арматура:
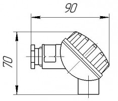
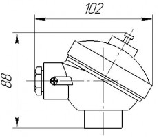
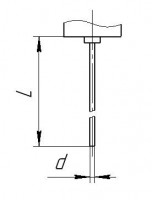
Модификация 01
Рисунок 1 |
Рисунок 2 |
Рисунок 3 |
Рисунок 4 |
Рисунок 5 |
Рисунок 6 |
Рисунок 7 |
Рисунок 8 |
Рисунок 9 |
Рисунок 10 |
Рисунок 11 |
|
Примечание – Защитная арматура в зависимости от конструкции рассчитана на номинальное давление (PN):
– по рисункам 1,2,3,10 – 6,3 МПа;
– по рисункам 4,5,6,7,8 – 16 МПа;
– по рисунку 9 – не нормируется;
– по рисунку 11 – 32 МПа.
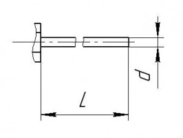
Модификация 03
Рисунок 1 |
Рисунок 2 |
Рисунок 3 |
Рисунок 4 |
Рисунок 5 |
Рисунок 6 |
Рисунок 7 |
Рисунок 8 |
Защитная арматура в зависимости от конструкции рассчитана на номинальное давление (PN):
– по рисункам 1-4, 6-8 – не нормируется;
– по рисунку 5 – 10 Мпа
По рисунку 1 допускается использовать как сменные термометрические вставки
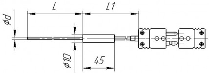
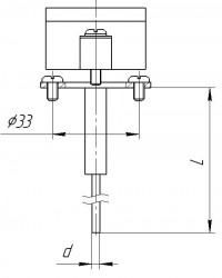
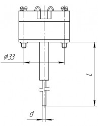
Модификация 05
Рисунок 1 |
Рисунок 2 |
Рисунок 3 |
|
Примечание – Защитная арматура в зависимости от конструкции рассчитана на номинальное давление (PN):
– по рисунку 1 – не нормируется;
– по рисунку 2 – 10 МПа;
– по рисунку 3 – 6,3 МПа
Модификация 06
Модификация 09
Гарантийные обязательства
Изготовитель гарантирует соответствие ТС требованиям технических условий при соблюдении условий транспортирования, монтажа, хранения и эксплуатации.
| Параметр | Значение |
| Гарантийный срок эксплуатации, месяцы | 24 со дня ввода в эксплуатацию |
| Гарантийный срок хранения, месяцы | 18 с момента изготовления |
Комплект поставки
| Наименование | Количество |
| Термопреобразователь сопротивления ЭнИ-300 ТСП, ЭнИ-300 ТСМ | 1 шт. |
| Паспорт | 1 экз. |
| Руководство по эксплуатации | 1 экз.1) |
| Методика поверки | |
| Комплект монтажных частей (в соответствии с заказом) | 1 |
Допускается прилагать 1 экз. на каждые 10 (или другое количество по согласованию с потребителем) ТС, поставляемых в один адрес.
Модификация 01. УНИВЕРСАЛЬНЫЕ ТЕРМОПРЕОБРАЗОВАТЕЛИ СОПРОТИВЛЕНИЯ ДЛЯ ВСЕХ ОТРАСЛЕЙ ПРОМЫШЛЕННОСТИ
| ЭнИ-300 ТСП- | 01 | Exd | 1d | 01 | А | H10 | 500 | 0 | 10 | 100П | А | 4 | D | K | (-100…+450) ±0,5% | К12 |
| 1 | 2 | 3 | 4 | 5 | 6 | 7 | 8 | 9 | 10 | 11 | 12 | 13 | 14 | 15 | 16 | 17 |
Расшифровка строки заказа
- Тип ТС
- Группа модификации
- Вид взрывозащиты
- Тип корпуса
- Исполнение защитной арматуры
- Присоединениек процессу
- Материал погружаемой части
- Длина монтажной части L, мм
- Длина шейки l, мм
- Диаметр погружаемой части d, мм
- Кол-во ЧЭ и сопротивление
- Класс допуска ПП
- Схема соединений
- Узел подключения к внешней цепи
- Конструктив первичного преобразователя
- Диапазон измерения или настройки температуры,°С Для ТС с ИП: Диапазон настройки и предел допускаемой основной приведённой погрешности, ±%
- Кабельные вводы
ЭнИ-300 ТСП-01 Карта заказа (pdf)
Модификация 03. БЕСКОРПУСНЫЕ ТЕРМОПРЕОБРАЗОВАТЕЛИ СОПРОТИВЛЕНИЯ
| ЭнИ-300 ТСП- | 03 | – | 03 | RS | AISI 316 | (ФФ) | 2000 | – | 4 | Pt100 | B | 4 | (-196…+660) |
| 1 | 2 | 3 | 4 | 5 | 6 | 7 | 8 | 9 | 10 | 11 | 12 | 13 | 15 |
Расшифровка строки заказа
- Тип ТС
- Группа модификации
- Вид взрывозащиты
- Исполнение защитной арматуры
- Присоединениек процессу
- Материал погружаемой части
- Материал изоляции удлинительного кабеля
- Длина монтажной части L, мм
- Длина удлинительного кабеля L1, мм
- Диаметр погружаемой части d, мм
- Кол-во ЧЭ и сопротивление
- Класс допуска ПП
- Схема соединений
- Диапазон измерения или настройки температуры,°С Для ТС с ИП: Диапазон настройки и предел допускаемой основной приведённой погрешности, ±%
ЭнИ-300 ТСП-03 Карта заказа (pdf)
Модификация 05
| ЭнИ-300 ТСП- | 05 | Exd | 7d | 02 | F | AISI 321 | 320 | (120) | 4,5 | Pt100 | B | 4 | А | (-196…+660) | К12 |
| 1 | 2 | 3 | 4 | 5 | 6 | 7 | 8 | 9 | 10 | 11 | 12 | 13 | 14 | 15 | 16 |
Расшифровка строки заказа
- Тип ТС
- Группа модификации
- Вид взрывозащиты
- Тип корпуса
- Исполнение защитной арматуры
- Присоединение к процессу
- Материал погружаемой части
- Длина монтажной части L, мм
- Длина шейки l, мм
- Диаметр погружаемой части d, мм
- Кол-во ЧЭ и сопротивление
- Класс допуска ПП
- Схема соединений
- Узел подключения к внешней цепи
- Диапазон измерения или настройки температуры,°С Для ТС с ИП: Диапазон настройки и предел допускаемой основной приведённой погрешности, ±%
- Кабельные вводы
ЭнИ-300 ТСП-05 Карта заказа (pdf)
Модификация 06
| ЭнИ-300 ТСП- | 06 | Exi | 6 | 01 | AISI 321 | 200 | 4,5 | 100П | А | 4 | (-50…+180) | С1 |
| 1 | 2 | 3 | 4 | 5 | 6 | 7 | 8 | 9 | 10 | 11 | 12 | 13 |
Расшифровка строки заказа
- Тип ТС
- Группа модификации
- Вид взрывозащиты
- Тип корпуса
- Исполнение защитной арматуры
- Материал погружаемой части
- Длина монтажной части L, мм
- Диаметр погружаемой части d, мм
- Кол-во ЧЭ и сопротивление
- Класс допуска ПП
- Схема соединений
- Узел подключения к внешней цепи
- Диапазон измерения или настройки температуры,°С Для ТС с ИП: Диапазон настройки и предел допускаемой основной приведённой погрешности, ±%
- Кабельные вводы
ЭнИ-300 ТСП-06 Карта заказа (pdf)
Модификация 09
| ЭнИ-300 ТСП- | 09 | Exi | 03 | AISI 310 | 120 | 4,5 | 100П | В | 4- | С1 | (-40…+200) 1% |
| 1 | 2 | 3 | 4 | 5 | 6 | 7 | 8 | 9 | 10 | 11 | 12 |
Расшифровка строки заказа
- Тип ТС
- Группа модификации
- Вид взрывозащиты
- Конструктивное исполнение (вкладка 5)
- Материал погружаемой части
- Длина монтажной части L, мм
- Диаметр погружаемой части d, мм
- Кол-во ЧЭ и сопротивление
- Класс допуска ПП
- Схема соединений
- Узел подключения к внешней цепи
- Диапазон измерения или настройки температуры,°С Для ТС с ИП: Диапазон настройки и предел допускаемой основной приведённой погрешности, ±%
Сертификаты
- ЭнИ-300 ТСП, ЭнИ-300 ТСМ Заключение о подтверждении производства промышленной продукции на территории РФ 27.02.2027
- ЭнИ-300 ТСП, ЭнИ-300 ТСМ Сертификат соответствия уровню полноты безопасности УПБ 2 (SIL2) и УПБ 3 (SIL3) 05.11.2027 (RU)
- ЭнИ-300 ТСП, ЭнИ-300 ТСМ Свидетельство об утверждении типа СИ 27.04.2030г.
- ЭнИ-300 ТСП, ЭнИ-300 ТСМ Сертификат соответствия ТР ТС 012/2011 О безопасности оборудования для работы во взрывоопасных средах 17.03.2029 (RU)
- ЭнИ-300 ТСП, ЭнИ-300 ТСМ Сертификат соответствия ТР ТС 020/2011 Электромагнитная совместимость технических средств 03.02.2030 (RU)
- ЭнИ-300 ТСП, ЭнИ-300 ТСМ Сертификат о признании утверждения типа средств измерений в Республике Казахстан 27.04.2025 (RU)
- ЭнИ-300 ТСП, ЭнИ-300 ТСМ Сертификат о признании утверждения типа средств измерений в Республике Казахстан 27.04.2025 (KZ)
- ЭнИ-300 ТСП, ЭнИ-300 ТСМ Сертификат о признании утверждения типа средств измерений в Республике Беларусь 27.04.2025 (RU)
- ЭнИ-300 ТСП, ЭнИ-300 ТСМ Сертификат о признании типа средств измерений в Республике Таджикистан 27.04.2025 (RU)
- ЭнИ-300 ТСП, ЭнИ-300 ТСМ Сертификат о признании типа средств измерений в Республике Таджикистан 27.04.2025 (TJ)
- ЭнИ-300 ТСП, ЭнИ-300 ТСМ Сертификат о признании типа средств измерений в Республике Узбекистан 27.04.2028 (RU)
- ЭнИ-300 ТСП, ЭнИ-300 ТСМ Cертификат соответствия требованиям ГОСТ 30546.1-98; ГОСТ 30546.2-98; ГОСТ 30546.3-98 (исполнение сейсмостойкости до 9 баллов по шкале MSK-64) 12.12.2026
- Отказное решение по заявке на сертификацию ТР ТС 032 2013 № 0951 ТР ТС-Р
Документация
- ЭнИ-300 ТСМ, ТСП Руководство по эксплуатации 13.02.2025 (pdf)
- Листовка ЭнИ-300 4-20мА HART ЖКИ v.1 (pdf)























































