Цены на термостатические конденсатоотводчики АСТА КТ 251
| Артикул | Серия | Тип присоединения | Материал корпуса |
PN, бар |
DN, мм |
Цена, ₽ с НДС |
| КТ251.015 | КТ251 | р/р | нерж.сталь 12Х18Н10Т* | 40 | 1/2″ | 10 405,62 |
| КТ251.020 | 3/4″ | 13 353,84 | ||||
| КТ251.025 | 1″ | 15 128,64 | ||||
Примечание: допускается изготовление из сталей 08Х18Н10Т/AISI 304, 08Х18Н10
Скачать все цены на конденсатоотводчики АСТА
Цена по запросу.
Скачать полное описание
Технические характеристики
| Номинальный диаметр DN | 15–25 |
| Номинальное давление PN | 40 бар |
| Максимальное рабочее давление | 32 бар |
| Максимальная температура рабочей среды Tmax | 250 °С |
| Рабочая среда | Водяной пар |
| Расположение на трубопроводе | Вертикально, горизонтально |
| Тип присоединения |
Внутренняя резьба G |
Ограничения применения
| Давление рабочей среды, бар | Максимальная температура рабочей среды, °С |
| 26,7 | 250 |
| 28,4 | 200 |
| 30,3 | 150 |
| 32,7 | 100 |
Пропускная способность, кг/ч
| DN | Перепад давления, бар | ||||||||
| 1 | 2 | 4,5 | 6 | 8 | 10 | 12 | 14 | 21 | |
| 15–25 | 210 | 300 | 465 | 520 | 610 | 665 | 750 | 840 | 1000 |
| Примечание: расход конденсата указан при температуре на 10 °С ниже температуры насыщения |
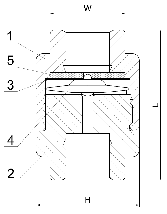
Спецификация материалов

| № | Наименование | Материал |
| 1 | Крышка | Нержавеющая сталь 12Х18Н10Т* |
| 2 | Корпус | |
| 3 | Фильтр | |
| 4 | Капсула | |
| 5 | Упор |
*- допускается изготовление из сталей 08Х18Н10Т/ AISI 304, 08Х18Н10
Массогабаритные характеристики
| DN | L, мм | H, мм | W, мм | Масса, кг |
| 15 (½”) | 64 | Ø44 | 27 | 0,4 |
| 20 (¾”) | 64 | Ø44 | 36 | 0,4 |
| 25 (1”) | 64 | Ø44 | 40 | 0,4 |
Скачать

Скачать ТР ТС 010

Скачать ТР ТС 032

Скачать СЕРТЭНЕРГО

Скачать сертификат сейсмостойкости
АСТА KT251 ½ DN15 скачать
АСТА KT251 ¾ DN20 скачать
АСТА KT251 1 DN25 скачать
Информация о доставке
Скачать опросный лист для конденсатоотводчиков





