Цена по запросу.
Скачать полное описание
Технические характеристики
| Номинальный диаметр DN | 15-25 |
| Номинальное давление PN | 16 бар |
| Максимальная температура рабочей среды Tmax | 177 °С |
| Рабочая среда | Стерильный водяной пар |
| Расположение на трубопроводе | Вертикально |
| Тип присоединения |
КТ451 – Внутренняя резьба BSP или NPT |
| КТ455 – Tri-Clamp ASME BPE |
Пропускная способность, кг/ч
| DN | Перепад давления, бар | ||||||
| 0,5 | 1 | 2 | 3 | 4 | 5 | 6 | |
| 15–25 | 151 | 244 | 437 | 690 | 760 | 800 | 850 |
* Расход конденсата указан при температуре на 5 °С ниже температуры насыщения
Спецификация материалов

| № | Наименование | Материал |
| 1 | Крышка | Нержавеющая сталь AISI 316L |
| 2 | Корпус | Нержавеющая сталь AISI 316L |
| 3 | Капсула | Нержавеющая сталь AISI 304 |
| 4 | Фильтр | Нержавеющая сталь AISI 304 |
| 5 | Уплотнение корпуса | PTFE |
| 6 | Хомут | Нержавеющая сталь CF8M |
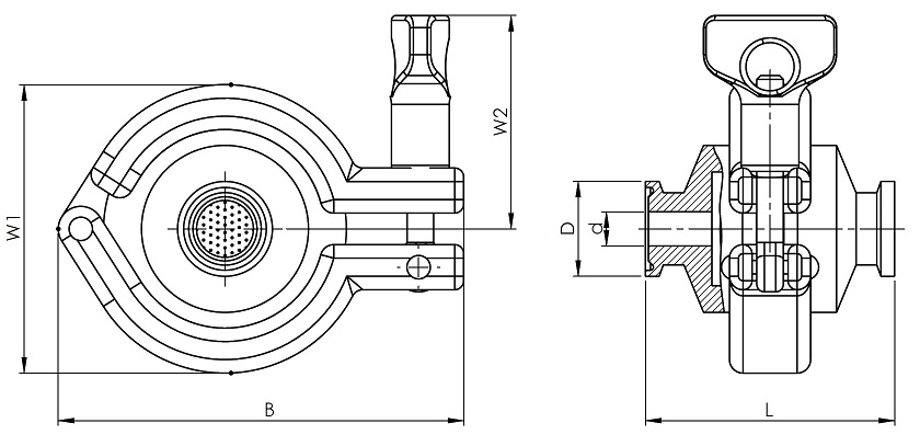
Габаритные размеры

| DN | L, мм |
ØD, мм | Ød, мм | W1, мм | W2, мм | B, мм | Масса, кг |
| 15 (½”) | 66 | 25 | 9,5 | 76,1 | 52 | 101 | 0,5 |
| 20 (¾”) | 66 | 25 | 15,7 | 76,1 | 52 | 101 | 0,5 |
| 25 (1”) | 66 | 50,5 | 22 | 76,1 | 52 | 101 | 0,5 |

Скачать ТР ТС 010

Скачать ТР ТС 032

Скачать СЕРТЭНЕРГО

Скачать сертификат сейсмостойкости
Информация о доставке
Скачать опросный лист для конденсатоотводчиков





