Цены на вентили запорные с сильфонным уплотнением АСТА В323
| Артикул | Серия | Тип присоединения | Материал корпуса |
PN, бар |
Герметичность | DN, мм |
Цена, ЕВРО с НДС |
| В323.015 | В323 | ф/ф | высокопрочный чугун ВЧ40 | 16 | абсолютная класс А | 15 | 113,43 |
| В323.020 | 20 | 122,83 | |||||
| В323.025 | 25 | 137,28 | |||||
| В323.032 | 32 | 169,07 | |||||
| В323.040 | 40 | 192,19 | |||||
| В323.050 | 50 | 231,92 | |||||
| В323.065 | 65 | 336,69 | |||||
| В323.080 | 80 | 423,39 | |||||
| В323.100 | 100 | 580,17 |

Цена по запросу.
Скачать полное описание
Технические характеристики
| Номинальный диаметр DN | 15 – 100 |
| Условное давление PN | 16 бар |
| Температура рабочей среды | От -30 °С до 350 °С |
| Рабочая среда | Вода, пар, воздух и другие среды, совместимые с материалами конструкции вентиля |
| Класс герметичности | “А” по ГОСТ 9544-2015 |
| Присоединение | Фланцевое согласно ГОСТ 33259-2015 |
| Тип управления |
Штурвал |
Ограничения применения
| Давление рабочей среды | Максимальная температура рабочей среды |
| 9,4 бар | 350 °С |
| 10,0 бар | 300 °С |
| 13,0 бар | 200 °С |
| 14,8 бар | 150 °С |
| 16 бар | 100 °С |
Массогабаритные характеристики и значения пропускной способности

|
DN |
L, |
H, |
ØW, |
Kvs, |
Масса, |
|
15 |
130 |
180 |
120 |
5,9 |
3,2 |
|
20 |
150 |
180 |
120 |
7,4 |
4,0 |
|
25 |
160 |
195 |
140 |
13,0 |
5,0 |
|
32 |
180 |
195 |
140 |
18,0 |
6,2 |
|
40 |
200 |
240 |
180 |
30,0 |
9,1 |
|
50 |
230 |
240 |
180 |
41,0 |
11,0 |
|
65 |
290 |
295 |
250 |
79,0 |
18,5 |
|
80 |
310 |
295 |
250 |
115,0 |
21,0 |
|
100 |
350 |
340 |
280 |
181,0 |
28,0 |
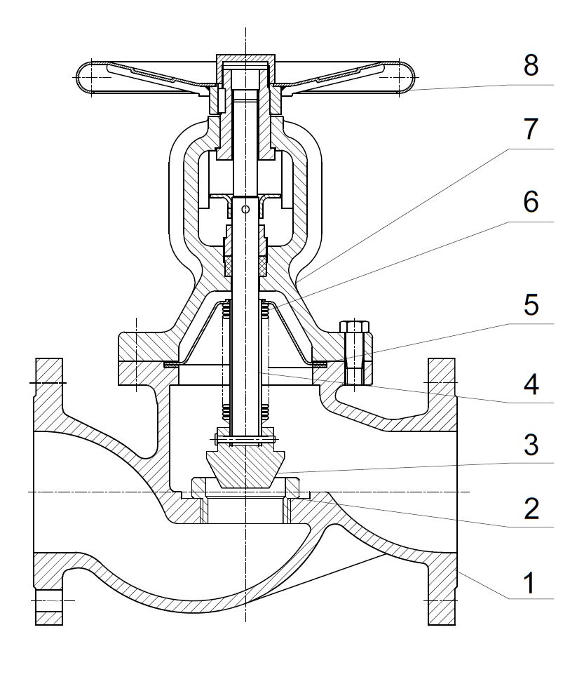
Спецификация материалов

|
№ |
Наименование |
Материал |
|
1 |
Корпус |
Высокопрочный чугун GGG40 |
|
2 |
Седло |
Нержавеющая сталь AISI 410 |
|
3 |
Плунжер |
Нержавеющая сталь AISI 410 |
|
4 |
Шток |
Нержавеющая сталь AISI 410 |
|
5 |
Уплотнение корпуса |
Графит |
|
6 |
Сильфон |
Нержавеющая сталь AISI 416Ti |
|
7 |
Крышка корпуса |
Высокопрочный чугун GGG40 |
|
8 |
Штурвал |
Углеродистая сталь |
Скачать
Скачать ТР ТС 010
Скачать ТР ТС 032
Скачать СЕРТЭНЕРГО
Скачать сертификат сейсмостойкости
АСТА В323 DN15 скачать
АСТА В323 DN20 скачать
АСТА В323 DN25 скачать
АСТА В323 DN32 скачать
АСТА В323 DN40 скачать
АСТА В323 DN50 скачать
АСТА В323 DN65 скачать
АСТА В323 DN80 скачать
АСТА В323 DN100 скачать
Информация о доставке





