Цена по запросу.
Скачать полное описание
Технические характеристики
| Номинальный диаметр, DN | 15 – 20 |
| Номинальное давление PN | 25 бар |
| Максимальное рабочее давление, PMO | 14 бар |
| Максимальная температура рабочей среды, Tmax | 300 °С |
| Рабочая среда | Жидкие невязкие среды, совместимые с материалами конструкции воздухоотводчика |
| Монтажное положение | Вертикальное |
| Направление потока | Снизу вверх |
| Тип присоединения |
ОВП121 – Внутренняя резьба G |
|
ОВП123 – Фланцевый по ГОСТ 33259-2015 |
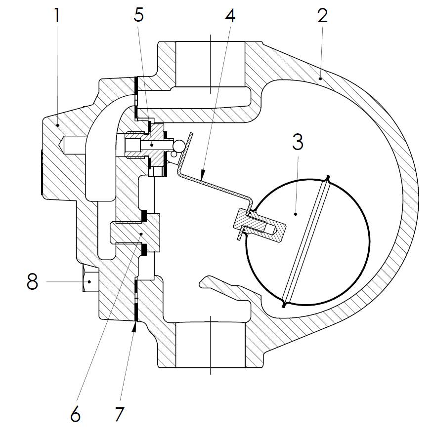
Спецификация материалов

| № | Наименование | Материал |
| 1 | Крышка | Высокопрочный чугун ВЧ40 |
| 2 | Корпус | Высокопрочный чугун ВЧ40 |
| 3 | Поплавок | Нержавеющая сталь 12Х18Н10Т |
| 4 | Рычаг поплавка | Нержавеющая сталь 12Х18Н10Т |
| 5 | Седло воздухоотводчика | Нержавеющая сталь 20Х13 |
| 6 | Пробка | Нержавеющая сталь 12Х18Н10Т |
| 7 | Прокладка корпуса | Графит |
| 8 | Болт | Сталь оцинкованная |
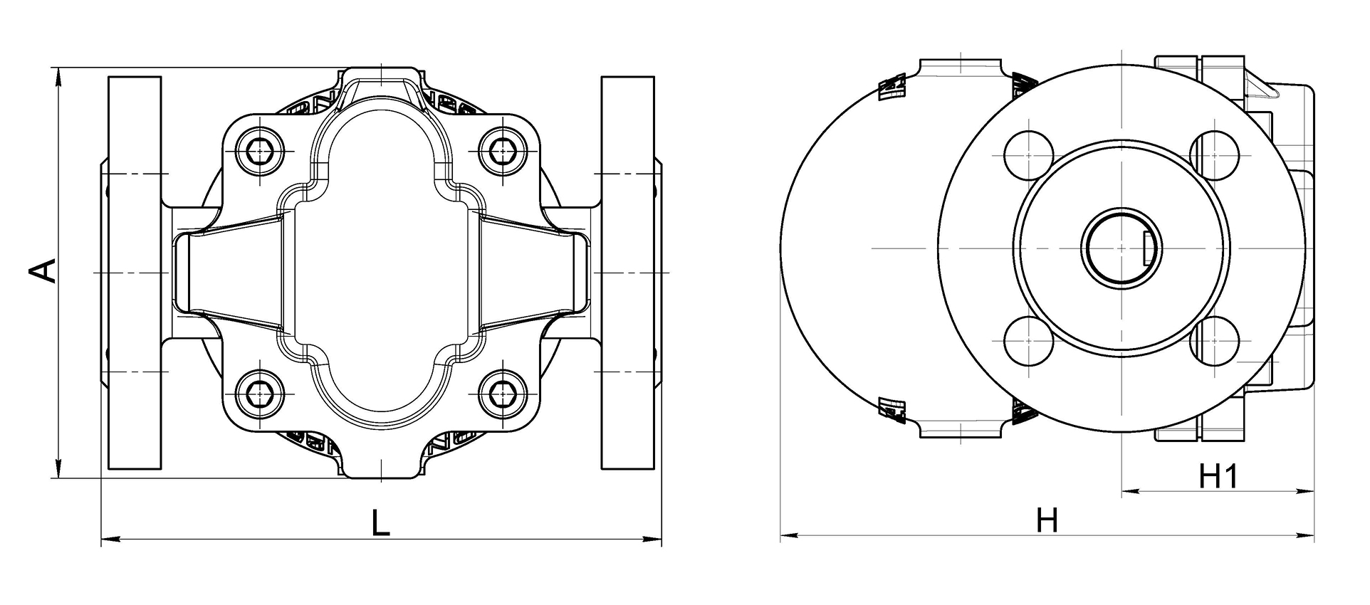
Габаритные размеры


Габаритные размеры
|
ОВП121 (Резьба) |
|||||
|
DN |
L, мм |
Н, мм |
Н1, мм |
А, мм |
Масса, кг |
|
15 (½”) |
128 |
152,5 |
57,5 |
110 |
3,8 |
|
20 (¾”) |
128 |
152,5 |
57,5 |
110 |
3,7 |
|
ОВП123 (Фланец) |
|||||
|
DN |
L, мм |
Н, мм |
Н1, мм |
А, мм |
Масса, кг |
|
15 (½”) |
150 |
152,5 |
55 |
110 |
4,9 |
|
20 (¾”) |
150 |
152,5 |
55 |
110 |
5,2 |
Скачать АСТА ОВП121, ОВП123

Скачать ТР ТС 010
АСТА ОВП123 DN15 скачать
АСТА ОВП123 DN20 скачать
Информация о доставке





