
Цена по запросу.
Скачать полное описание
Технические характеристики
| Номинальный диаметр DN | 15–200 |
| Условное давление PN |
25 бар (DN15-80) / 16 бар (DN100-200) |
| Температура рабочей среды | От -10 °С до 150 °С |
| Рабочая среда | Вода, воздух, гликоли, а также другие среды, совместимые с материалами конструкции клапана |
| Характеристика регулирования | Линейная / равнопроцентная |
| Диапазон регулирования | 30:1 |
| Пропускная способность клапана, Kvs | 0,1–630 м3/ч |
| Компенсация давления | Неразгруженный по давлению (DN 15–50) |
| Разгруженный по давлению (DN 65–200) | |
| Класс герметичности | IV класс по ГОСТ 9544-2015 (уплотнение по затвору “металл-металл”) |
| VI класс по ГОСТ 9544-2015 (уплотнение по затвору PTFE) | |
| Тип присоединения | Фланцевый по ГОСТ 33259-2015, исп.В |
| Тип управления |
Электропривод |
Коэффициент начала кавитации Z
| DN | 15 | 20 | 25 | 32 | 40 | 50 | 65 | 80 | 100 | 125 | 150 | 200 |
| Z | 0,5 | 0,5 | 0,5 | 0,5 | 0,5 | 0,5 | 0,45 | 0,4 | 0,35 | 0,35 | 0,35 | 0,3 |
Пропускные способности клапана
|
DN |
Kvs, м3/ч |
|||||||||||||||||||||
|
0,1 |
0,16 |
0,25 |
0,4 |
0,6 |
1 |
1,6 |
2,5 |
4 |
6,3 |
10 |
16 |
25 |
40 |
63 |
80 |
125 |
160 |
200 |
250 |
400 |
630 |
|
|
Ход штока, мм |
||||||||||||||||||||||
|
15 |
10 |
10 |
10 |
10 |
10 |
10 |
10 |
10 |
10 |
– |
– |
– |
– |
– |
– |
– |
– |
– |
– |
– |
– |
– |
|
20 |
10 |
10 |
10 |
10 |
10 |
10 |
10 |
10 |
10 |
10 |
– |
– |
– |
– |
– |
– |
– |
– |
– |
– |
– |
– |
|
25 |
10 |
10 |
10 |
10 |
10 |
10 |
10 |
10 |
10 |
10 |
20 |
– |
– |
– |
– |
– |
– |
– |
– |
– |
– |
– |
|
32 |
– |
– |
– |
– |
– |
– |
– |
– |
– |
10 |
20 |
20 |
– |
– |
– |
– |
– |
– |
– |
– |
– |
– |
|
40 |
– |
– |
– |
– |
– |
– |
– |
– |
– |
– |
20 |
20 |
20 |
– |
– |
– |
– |
– |
– |
– |
– |
– |
|
50 |
– |
– |
– |
– |
– |
– |
– |
– |
– |
– |
– |
20 |
20 |
20 |
– |
– |
– |
– |
– |
– |
– |
– |
|
65 |
– |
– |
– |
– |
– |
– |
– |
– |
– |
– |
– |
– |
30 |
30 |
30 |
– |
– |
– |
– |
– |
– |
– |
|
80 |
– |
– |
– |
– |
– |
– |
– |
– |
– |
– |
– |
– |
– |
30 |
– |
30 |
30 |
– |
– |
– |
– |
– |
|
100 |
– |
– |
– |
– |
– |
– |
– |
– |
– |
– |
– |
– |
– |
– |
– |
30 |
30 |
30 |
– |
– |
– |
– |
|
125 |
– |
– |
– |
– |
– |
– |
– |
– |
– |
– |
– |
– |
– |
– |
– |
– |
50 |
– |
50 |
50 |
– |
– |
|
150 |
– |
– |
– |
– |
– |
– |
– |
– |
– |
– |
– |
– |
– |
– |
– |
– |
– |
– |
50 |
50 |
50 |
– |
|
200 |
– |
– |
– |
– |
– |
– |
– |
– |
– |
– |
– |
– |
– |
– |
– |
– |
– |
– |
– |
75 |
75 |
75 |
Примечание: по запросу доступны нестандартные значения Kvs.
Массогабаритные характеристики

|
DN |
L, мм |
H, мм |
Масса, кг* |
|||||
|
Электропривод ЭПР / ЭПА |
||||||||
|
0,6кН |
1,8кН |
4 кН |
10 кН |
14 кН |
25 кН |
|||
|
15 |
130 |
271 |
– |
– |
– |
– |
– |
3,2 |
|
20 |
150 |
266 |
– |
– |
– |
– |
– |
3,8 |
|
25 |
160 |
278 |
294 |
– |
– |
– |
– |
4,5 |
|
32 |
180 |
280 |
320 |
– |
– |
– |
– |
6,9 |
|
40 |
200 |
289 |
329 |
567 |
– |
– |
– |
9,6 |
|
50 |
230 |
283 |
323 |
573 |
– |
– |
– |
11,9 |
|
65 |
290 |
410 |
450 |
630 |
– |
– |
– |
21,0 |
|
80 |
310 |
– |
– |
628 |
– |
– |
– |
28,0 |
|
100 |
350 |
– |
– |
637 |
– |
– |
– |
40,0 |
|
125 |
400 |
– |
– |
694 |
734 |
– |
– |
55,0 |
|
150 |
480 |
– |
– |
721 |
762 |
978 |
– |
75,0 |
|
200 |
600 |
– |
– |
– |
784 |
996 |
996 |
125,0 |
*- масса клапана указана без учета массы привода
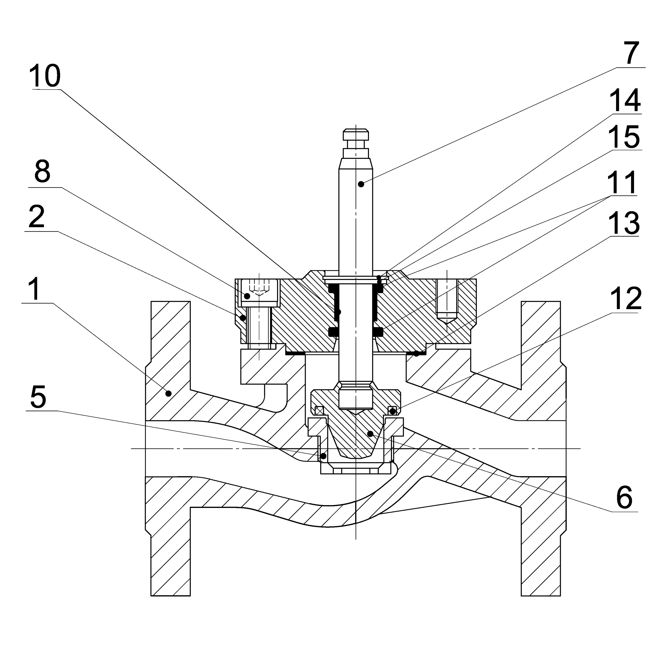
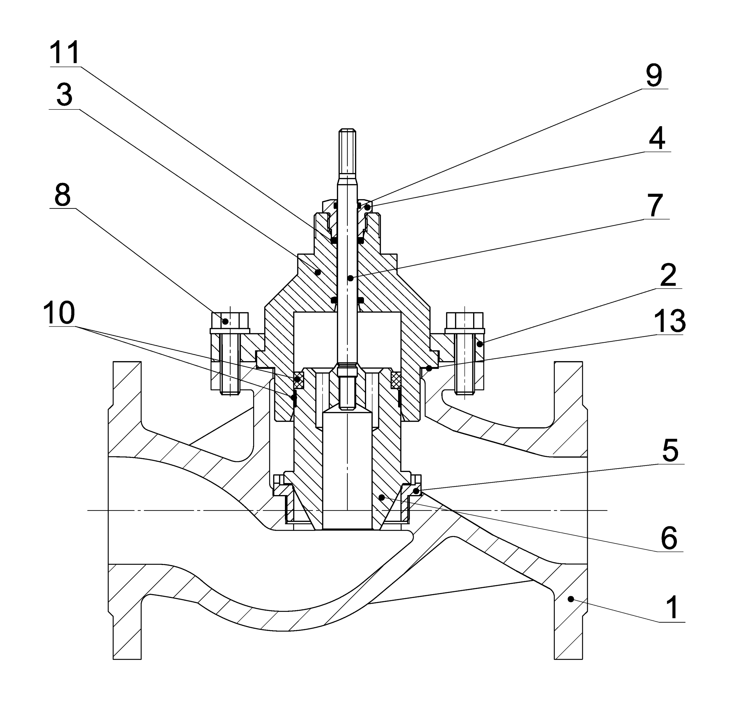
Спецификация материалов
![]() |
|
| DN 15-50 | DN 65-200 |
|
№ |
Наименование |
Материал |
|
|
DN15-50 |
DN65-200 |
||
|
1 |
Корпус |
Высокопрочный чугун ВЧ40 |
|
|
2 |
Крышка |
Сталь 20 |
|
|
3 |
Втулка сальника |
– |
Сталь 20Х13 |
|
4 |
Букса сальника |
– |
Сталь 20Х13 |
|
5 |
Седло |
Сталь 20Х13 |
|
|
6 |
Плунжер |
Сталь 20Х13 |
|
|
7 |
Шток |
Сталь 20Х13 |
|
|
8 |
Болт, шайба |
Углеродистая сталь, оцинковка |
|
|
9 |
Грязесъемник |
– |
EPDM |
|
10 |
Направляющая |
PTFE/Бронза |
|
|
11 |
Сальник |
– |
EPDM + PTFE/Графит |
|
12 |
Уплотнение затвора* |
– |
PTFE/Графит |
|
13 |
Прокладка |
Графлекс |
|
|
14 |
Стопорное кольцо |
Сталь 65Г |
|
|
15 |
Упорная шайба |
Сталь 3 |
|
* – при исполнении клапана с уплотнением по затвору “металл-металл” поз.12 отсутствует
Ремонт и сервисное обслуживание регулирующего клапана АСТА Р223 ТЕРМОКОМПАКТ (до DN50 включительно)
Скачать
Ремонт и сервисное обслуживание регулирующего клапана АСТА Р223 ТЕРМОКОМПАКТ (до DN50 включительно)

Скачать ТР ТС 010

Скачать ТР ТС 012

Скачать ТР ТС 032

Скачать гигиенический сертификат

Скачать СЕРТЭНЕРГО

Скачать сертификат сейсмостойкости
Информация о доставке
Скачать опросный лист для подбора клапана регулирующего с электроприводом






