Цена по запросу.
Скачать полное описание
Технические характеристики
| Номинальный диаметр DN | 15–200 | |
| Условное давление PN | 16 бар | |
| Температура рабочей среды | От -10 °С до 150 °С | |
| Рабочая среда | Вода, воздух, гликоли, а также другие среды, совместимые с материалами конструкции клапана | |
| Характеристика регулирования | Линейная / равнопроцентная | |
| Диапазон регулирования | 30:1 | |
| Пропускная способность клапана, Kvs | 0,1–630 м3/ч | |
| Компенсация давления | Неразгруженный по давлению (DN 15–50) | |
| Разгруженный по давлению (DN 65–200) | ||
| Класс герметичности | IV класс по ГОСТ 9544-2015 (уплотнение по затвору “металл-металл”) | |
| VI класс по ГОСТ 9544-2015 (уплотнение по затвору PTFE) | ||
| Тип присоединения | Фланцевый по ГОСТ 33259-2015, исп.В | |
| Тип управления |
Электропривод |
|
Коэффициент начала кавитации Z
| DN | 15 | 20 | 25 | 32 | 40 | 50 | 65 | 80 | 100 | 125 | 150 | 200 |
| Z | 0,5 | 0,5 | 0,5 | 0,5 | 0,5 | 0,5 | 0,45 | 0,4 | 0,35 | 0,35 | 0,35 | 0,3 |
Пропускные способности клапана
| DN | Kvs, м3/ч | |||||||||||||||||||||
| 0,1 | 0,16 | 0,25 | 0,4 | 0,6 | 1 | 1,6 | 2,5 | 4 | 6,3 | 10 | 16 | 25 | 40 | 63 | 80 | 125 | 160 | 200 | 250 | 400 | 630 | |
| Ход штока, мм | ||||||||||||||||||||||
| 15 | 10 | 10 | 10 | 10 | 10 | 10 | 10 | 10 | 10 | – | – | – | – | – | – | – | – | – | – | – | – | – |
| 20 | 10 | 10 | 10 | 10 | 10 | 10 | 10 | 10 | 10 | 10 | – | – | – | – | – | – | – | – | – | – | – | – |
| 25 | 10 | 10 | 10 | 10 | 10 | 10 | 10 | 10 | 10 | 10 | 20 | – | – | – | – | – | – | – | – | – | – | – |
| 32 | – | – | – | – | – | – | – | – | – | 10 | 20 | 20 | – | – | – | – | – | – | – | – | – | – |
| 40 | – | – | – | – | – | – | – | – | – | – | 20 | 20 | 20 | – | – | – | – | – | – | – | – | – |
| 50 | – | – | – | – | – | – | – | – | – | – | – | 20 | 20 | 20 | – | – | – | – | – | – | – | – |
| 65 | – | – | – | – | – | – | – | – | – | – | – | – | 30 | 30 | 30 | – | – | – | – | – | – | – |
| 80 | – | – | – | – | – | – | – | – | – | – | – | – | – | 30 | – | 30 | 30 | – | – | – | – | – |
| 100 | – | – | – | – | – | – | – | – | – | – | – | – | – | – | – | 30 | 30 | 30 | – | – | – | – |
| 125 | – | – | – | – | – | – | – | – | – | – | – | – | – | – | – | – | 50 | – | 50 | 50 | – | – |
| 150 | – | – | – | – | – | – | – | – | – | – | – | – | – | – | – | – | – | – | 50 | 50 | 50 | – |
| 200 | – | – | – | – | – | – | – | – | – | – | – | – | – | – | – | – | – | – | – | 75 | 75 | 75 |
Примечание: по запросу доступны нестандартные значения Kvs.
Массогабаритные характеристики

|
DN |
L, мм |
H, мм |
Масса, кг* |
|||||
|
Электропривод ЭПР / ЭПА |
||||||||
|
0,6кН |
1,8кН |
4 кН |
10 кН |
14 кН |
25 кН |
|||
|
15 |
130 |
325 |
– |
– |
– |
– |
– |
3,5 |
|
20 |
150 |
325 |
370 |
– |
– |
– |
– |
4,2 |
|
25 |
160 |
325 |
370 |
– |
– |
– |
– |
7,5 |
|
32 |
180 |
325 |
370 |
– |
– |
– |
– |
7,8 |
|
40 |
200 |
337 |
382 |
567 |
– |
– |
– |
10,2 |
|
50 |
230 |
– |
388 |
573 |
– |
– |
– |
13,3 |
|
65 |
290 |
– |
418 |
630 |
– |
– |
– |
21,0 |
|
80 |
310 |
– |
– |
628 |
– |
– |
– |
28,0 |
|
100 |
350 |
– |
– |
637 |
– |
– |
– |
40,0 |
|
125 |
400 |
– |
– |
694 |
734 |
– |
– |
55,0 |
|
150 |
480 |
– |
– |
721 |
762 |
978 |
– |
75,0 |
|
200 |
600 |
– |
– |
– |
784 |
996 |
996 |
125,0 |
*- масса клапана указана без учета массы привода
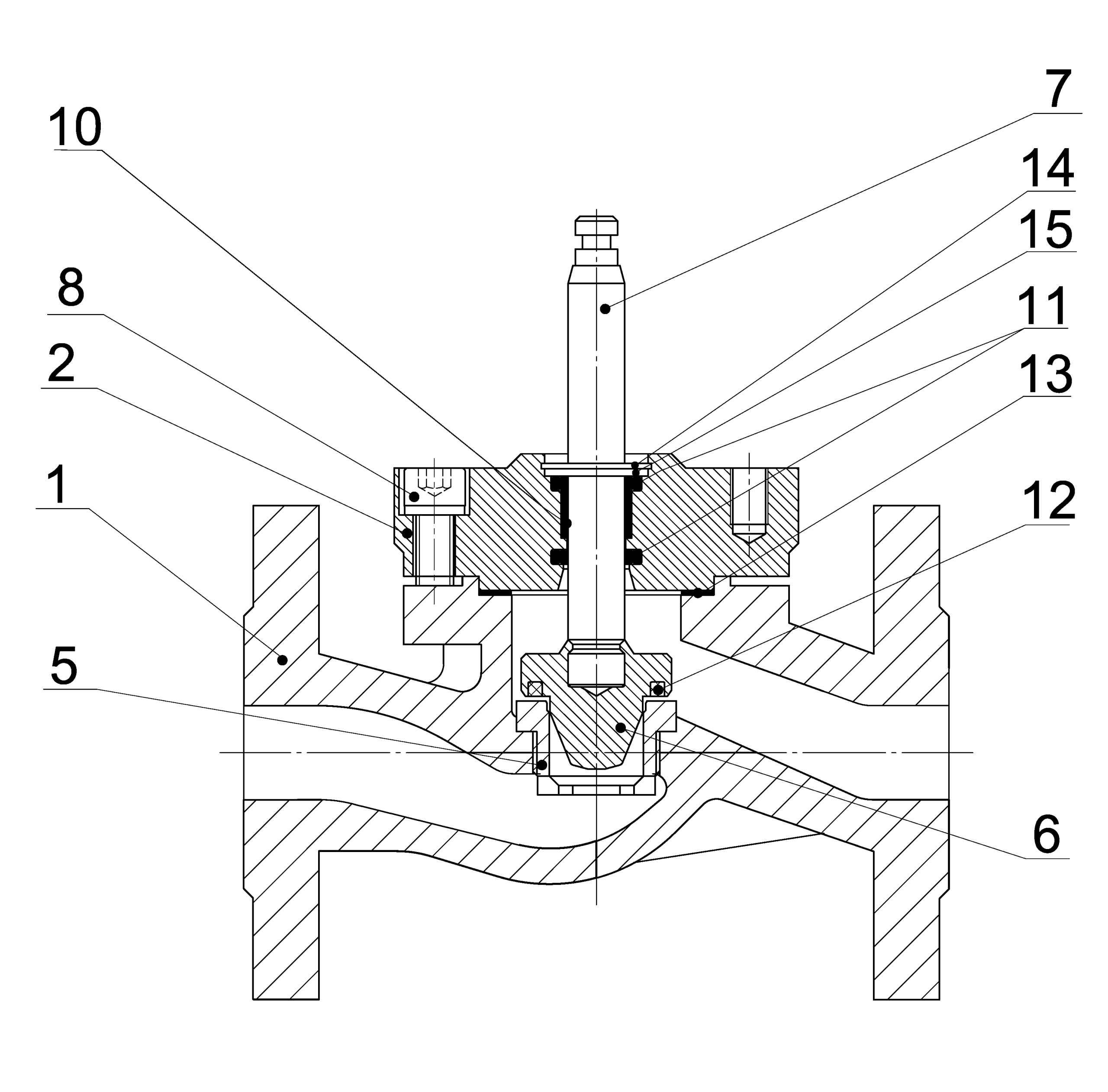
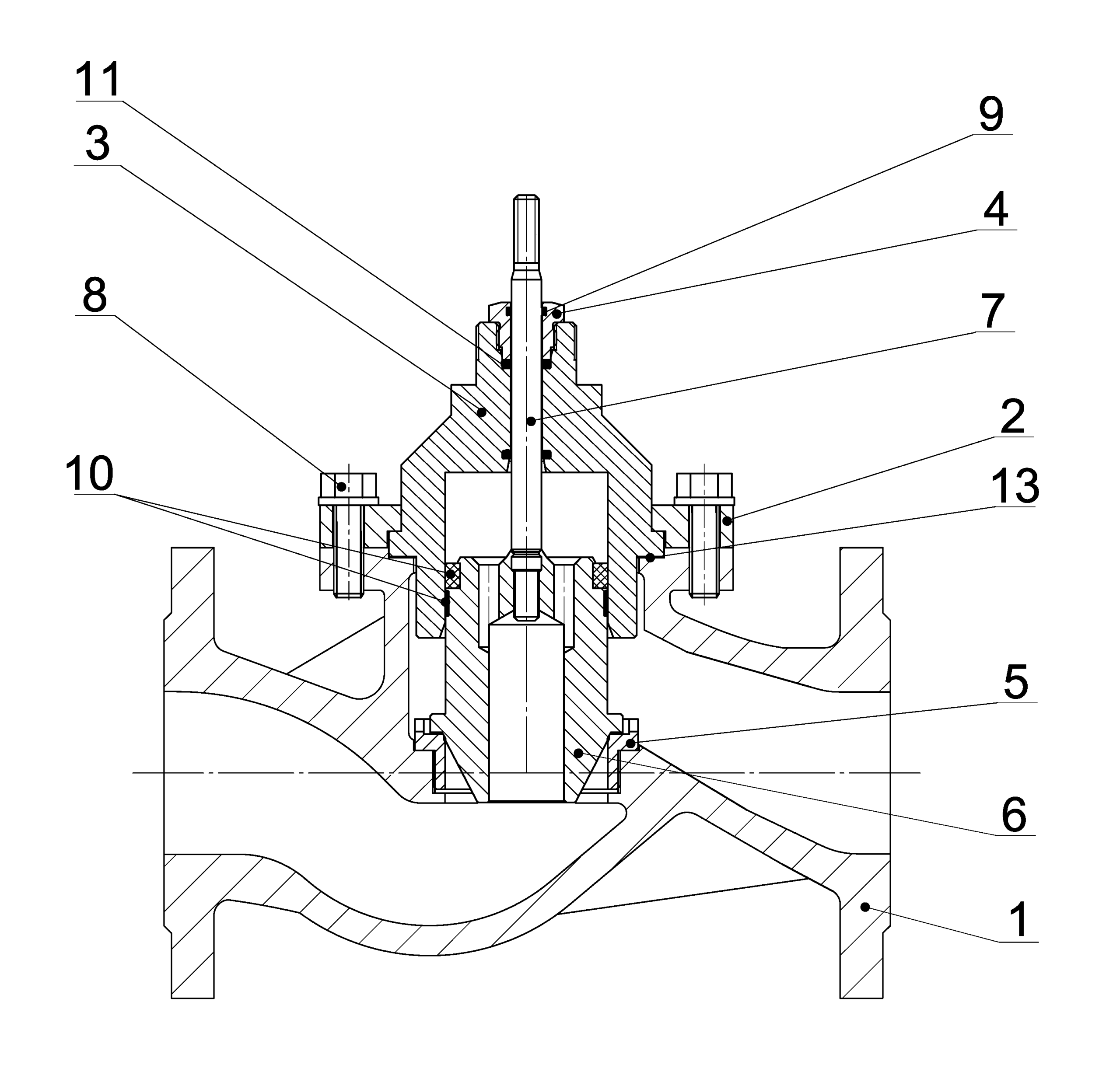
Спецификация материалов
![]() |
![]() |
| DN15-50 | DN65-200 |
|
№ |
Наименование |
Материал |
|
|
DN15-50 |
DN65-200 |
||
|
1 |
Корпус |
Серый чугун СЧ25 |
|
|
2 |
Крышка |
Сталь 20 |
|
|
3 |
Втулка сальника |
– |
Сталь 20Х13 |
|
4 |
Букса сальника |
– |
Сталь 20Х13 |
|
5 |
Седло |
Сталь 20Х13 |
|
|
6 |
Плунжер |
Сталь 20Х13 |
|
|
7 |
Шток |
Сталь 20Х13 |
|
|
8 |
Болт, шайба |
Углеродистая сталь, оцинковка |
|
|
9 |
Грязесъемник |
– |
EPDM |
|
10 |
Направляющая |
PTFE/Бронза |
|
|
11 |
Сальник |
– |
EPDM + PTFE/Графит |
|
12 |
Уплотнение затвора* |
– |
PTFE/Графит |
|
13 |
Прокладка |
Графлекс |
|
*- при исполнении клапана с уплотнением по затвору «металл-металл» поз. 12 отсутствует
Скачать

Скачать ТР ТС 010

Скачать ТР ТС 012

Скачать ТР ТС 032

Скачать гигиенический сертификат

Скачать СЕРТЭНЕРГО

Скачать сертификат сейсмостойкости
АСТА Р213 DN20 с ЭПР, ЭПА 2,7 кН скачать
Информация о доставке
Скачать опросный лист для подбора клапана регулирующего с электроприводом







