Цена по запросу.
Скачать полное описание
Технические характеристики
| Номинальный диаметр DN | 15–200 |
| Условное давление PN | 40 бар |
| Температура рабочей среды | От -60 °С до 425 °С |
| Рабочая среда | Пар, вода, сжатый воздух, нефтепродукты и другие среды, совместимые с конструкцией клапана |
| Характеристика регулирования | Линейная / равнопроцентная* / отсечная* |
| Диапазон регулирования | 30:1 |
| Пропускная способность клапана, Kvs | 1,0–400 м3/ч |
| Компенсация давления | Неразгруженный по давлению |
| Класс герметичности | III класс по ГОСТ 9544-2015 |
| Тип присоединения | Фланцевый по ГОСТ 33259-2015 |
| Тип управления |
Электропривод / Пневмопривод |
* по запросу
Пропускные способности клапана
| DN | Kvs, м3/ч | ||||||||||||||||
| 1,6 | 2,5 | 4 | 6,3 | 10 | 16 | 20 | 25 | 40 | 63 | 80 | 100 | 125 | 160 | 200 | 250 | 400 | |
| Ход штока,мм | |||||||||||||||||
| 15 | 10 | 10 | 10 | – | – | – | – | – | – | – | – | – | – | – | – | – | – |
| 20 | – | 10 | 10 | 10 | – | – | – | – | – | – | – | – | – | – | – | – | – |
| 25 | – | – | 20 | 20 | 20 | – | – | – | – | – | – | – | – | – | – | – | – |
| 32 | – | – | – | 20 | 20 | 20 | – | – | – | – | – | – | – | – | – | – | – |
| 40 | – | – | – | – | 20 | 20 | 20 | – | – | – | – | – | – | – | – | – | – |
| 50 | – | – | – | – | – | 20 | 20 | 20 | – | – | – | – | – | – | – | – | – |
| 65 | – | – | – | – | – | – | – | 30 | 30 | 30 | – | – | – | – | – | – | – |
| 80 | – | – | – | – | – | – | – | – | 30 | – | 30 | 30 | – | – | – | – | – |
| 100 | – | – | – | – | – | – | – | – | – | – | 30 | – | 30 | 30 | – | – | – |
| 125 | – | – | – | – | – | – | – | – | – | – | 50 | – | 50 | – | 50 | – | – |
| 150 | – | – | – | – | – | – | – | – | – | – | – | – | 50 | – | 50 | 50 | – |
| 200 | – | – | – | – | – | – | – | – | – | – | – | – | – | – | 75 | 75 | 75 |
Примечание: по запросу доступны нестандартные значения Kvs.
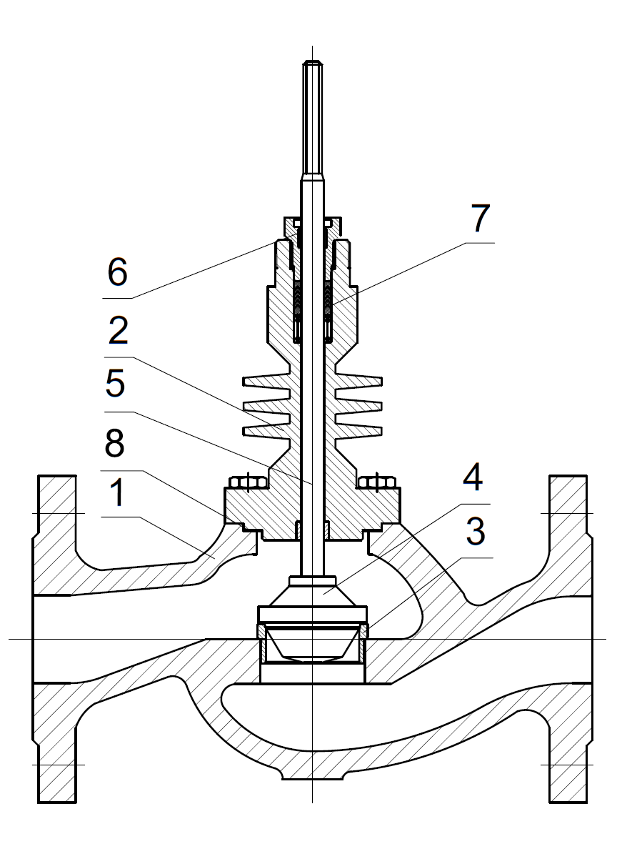
Спецификация материалов

| № | Наименование | Материал |
| 1 | Корпус | Нержавеющая сталь CF8 |
| 2 | Крышка | Сталь 12Х18Н10Т |
| 3 | Седло | Сталь 12Х18Н10Т |
| 4 | Плунжер | Сталь 12Х18Н10Т |
| 5 | Шток | Сталь 12Х18Н10Т |
| 6 | Направляющая | Стеллит |
| 7 | Сальник | PTFE/Графит |
| 8 | Уплотнение корпуса | Графлекс |
Массогабаритные характеристики

|
DN |
L, мм |
H, мм |
Масса, кг* |
||||||
|
Электропривод ЭПР/ЭПА |
Пневмопривод ППМ |
||||||||
|
0,6 кН |
1,8 кН |
4 кН |
350 |
560 |
900 |
1500 |
|||
|
15 |
130 |
448 |
– |
– |
480 |
– |
– |
– |
5,0 |
|
20 |
150 |
443 |
521 |
– |
475 |
576 |
– |
– |
5,5 |
|
25 |
160 |
456 |
496 |
– |
488 |
589 |
709 |
– |
6,5 |
|
32 |
180 |
463 |
503 |
– |
495 |
596 |
716 |
916 |
9,0 |
|
40 |
200 |
– |
517 |
667 |
509 |
610 |
730 |
930 |
12,0 |
|
50 |
230 |
– |
518 |
668 |
510 |
611 |
731 |
931 |
14,0 |
|
65 |
290 |
– |
552 |
702 |
– |
645 |
765 |
965 |
23,0 |
|
80 |
310 |
– |
– |
722 |
– |
665 |
785 |
985 |
29,0 |
|
100 |
350 |
– |
– |
736 |
– |
– |
799 |
999 |
41,0 |
*- масса клапана указана без учета массы привода
Примечание: значения для DN125-200 предоставляются по запросу
Скачать

Скачать ТР ТС 010

Скачать ТР ТС 012

Скачать ТР ТС 032

Скачать гигиенический сертификат

Скачать СЕРТЭНЕРГО

Скачать сертификат сейсмостойкости
Информация о доставке
Скачать опросный лист для подбора клапана регулирующего с электроприводом
Скачать опросный лист для подбора клапана регулирующего с пневмоприводом





