Двухлучевые расходомеры-счетчики ультразвуковые ВИРС-У обеспечивают высокую точность и надежность измерения при минимизации затрат на установку и дальнейшее техническое обслуживание. Высокая точность и надежность измерения расхода жидкости обеспечивается за счет использования двух пар ультразвуковых датчиков, установленных в расходомерном участке на заводе изготовителе.
Взаимное расположение и пространственная ориентация ультразвуковых датчиков позволяют наиболее эффективно производить измерения расхода даже при искажения профиля потока жидкости.
Преимущества преобразователя расхода ВИРС-У
- нет изнашивающихся или загрязняющихся подвижных частей
- возможность работы с сокращенными прямолинейными участками
- частота измерения 1МГц и 2 МГц
- 2-лучевой принцип измерения для оптимальной точности
- измерения при любом качестве и любой электропроводности воды
- незначительный перепад давления
- возможность измерения реверсивного потока
- широкий динамический диапазон
- RS 232, RS 485, М Bus.
Области применения расходомеров-счетчиков ВИРС-У
- как средство измерения и передачи величин объемного расхода и объема различных технологических жидкостей в системах автоматического контроля и управления технологическими процессами в энергетике, на промышленных предприятиях, пищевых производствах;
- в составе систем коммерческого и технического учета тепла и воды на источниках теплоты и в тепловых пунктах;
- в составе теплосчетчиков и счетчиков воды, систем учета сточных вод.
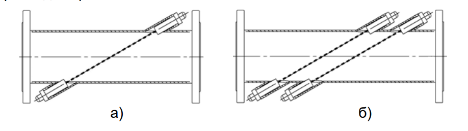
Констуктив измерительного участка (ППР) расходомера в зависимости от формы
1. Исполнение П — «прямая труба»

а) Прямая труба с однолучевым зондированием
б) Прямая труба с двухлучевым зондированием
2. Исполнение С — «прямая труба с сужением»

а) ППР – прямая труба с сужением (С);
б) ППР – крестообразный (К).









