Цена по запросу.
Скачать полное описание
Технические характеристики
| Номинальный диаметр | DN 15 – 200 |
| Номинальное давление | 40 х 16 |
| Минимальная температура рабочей среды | -30 °С |
| Максимальная температура рабочей среды | +200 °С (мягкое уплотнение седла) |
| +350 °С (уплотнение «металл-металл») | |
| Рабочая среда | Пар, воздух, вода и др. среды, нейтральные к материалам клапана |
| Класс герметичности | “А” по ГОСТ 9544-2015 |
| Давление настройки | 0,5-40 бар |
| Давление полного открытия, Рпо | +15% от Рн |
| Давление полного закрытия, Рз | -20% от Рн |
| Тип присоединения | Фланцевое по ГОСТ 33259-2015 |
Расчетные параметры
| DN | Диаметр седла d0, мм | Площадь седла А, мм2 | Высота подъема плунжера h, мм | Коэффициент истечения α* | |
| Газы, пары | Жидкости | ||||
| 15х15 | 12 | 113 | 2,5 | 0,35 | 0,25 |
| 20х20 | 12 | 113 | 2,5 | ||
| 25x25 | 16 | 201 | 2,5 | ||
| 32х32 | 20 | 314 | 2,5 | ||
| 40x40 | 25 | 491 | 3 | ||
| 50x50 | 32 | 804 | 3,5 | ||
| 65x65 | 40 | 1257 | 4 | ||
| 80x80 | 50 | 1964 | 5 | ||
| 100x100 | 63 | 3117 | 6,5 | ||
| 125×125 | 77 | 4657 | 8,0 | ||
| 150х150 | 93 | 6790 | 10,0 | ||
| 200х200 | 110 | 9498 | 11,0 | ||
* – при противодавлении 0 бар
Диапазоны давлений пружин
| DN | Диапазоны давлений, бар * | |||||
| 15х15 | 0,5-5,5 | 5,5-10,5 | 10,5-16,0 | 16,0-24,0 | – | – |
| 20х20 | 0,5-5,5 | 5,5-10,5 | 10,5-16,0 | 16,0-24,0 | – | – |
| 25x25 | 0,5-5,5 | 5,5-10,5 | 10,5-16,0 | 16,0-24,0 | – | – |
| 32х32 | 0,5-2,0 | 2,0-6,0 | 6,0-9,0 | 9,0-13,5 | 13,5-24,0 | – |
| 40x40 | 0,5-2,0 | 2,0-6,0 | 6,0-9,0 | 9,0-13,5 | 13,5-24,0 | – |
| 50x50 | 0,5-2,5 | 2,5-5,5 | 5,5-8,5 | 8,5-10,5 | 10,5-16,0 | 16,0-24,0 |
| 65x65 | 0,5-2,5 | 2,5-5,5 | 5,5-8,5 | 8,5-10,5 | 10,5-16,0 | 16,0-24,0 |
| 80x80 | 0,5-2,5 | 2,5-5,5 | 5,5-8,5 | 8,5-10,5 | 10,5-16,0 | 16,0-24,0 |
| 100x100 | 0,5-2,5 | 2,5-5,5 | 5,5-8,5 | 8,5-10,5 | 10,5-16,0 | 16,0-24,0 |
| 125х125 | 0,5-2,5 | 2,5-5,5 | 5,5-8,5 | 8,5-10,5 | 10,5-16,0 | 16,0-24,0 |
| 150х150 | ** | |||||
| 200х200 | ||||||
- * – в тех случаях, когда требуемое давление начала открытия находится на границе соседних диапазонов, необходимо использовать пружину с более высоким диапазоном давлений.
- ** – по запросу.
Пропускная способность
Скачать
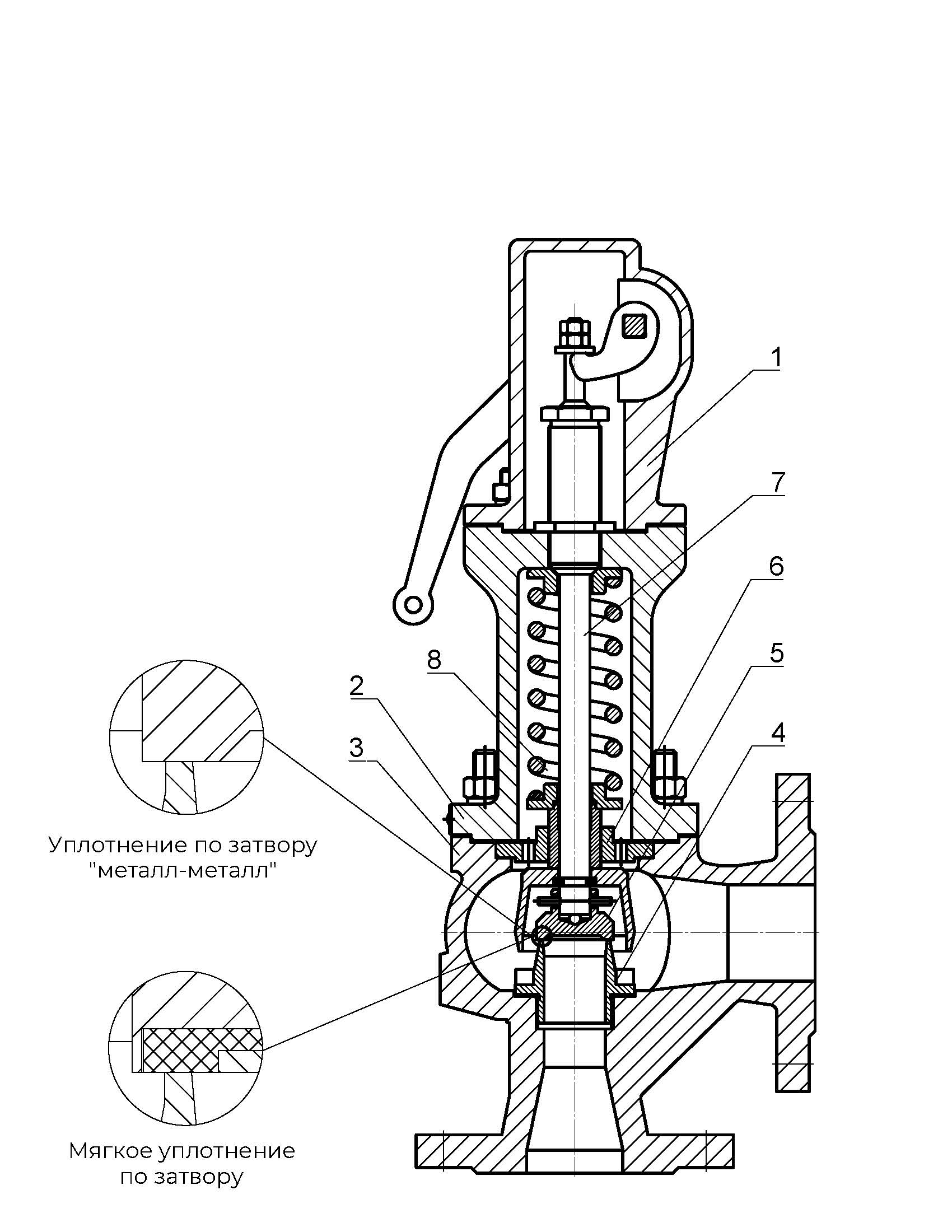
Спецификация материалов

| № | Наименование | Материал |
| 1 | Верхняя крышка | Высокопрочный чугун ВЧ40 |
| 2 | Крышка | Высокопрочный чугун ВЧ40 |
| 3 | Корпус | Высокопрочный чугун ВЧ40 |
| 4 | Седло | Нержавеющая сталь 20Х13 |
| 5 | Плунжер | Нержавеющая сталь 20Х13 |
| 6 | Направляющая | Углеродистая сталь 20 |
| 7 | Шток | Нержавеющая сталь 20Х13 |
| 8 | Пружина | Рессорно-пружинная сталь 51ХФА/60С2А* |
* – в зависимости от давления настройки
Массогабаритные характеристики

| DN | d1, мм | d2, мм | S, мм | S1, мм | H, мм | Масса, кг |
| 15х15 | 15 | 15 | 90 | 90 | 378 | 8,5 |
| 20х20 | 20 | 20 | 95 | 95 | 382 | 9,1 |
| 25×25 | 25 | 25 | 100 | 100 | 390 | 10,0 |
| 32×32 | 32 | 32 | 105 | 105 | 444 | 14,8 |
| 40×40 | 40 | 40 | 115 | 115 | 456 | 16,4 |
| 50×50 | 50 | 50 | 125 | 125 | 486 | 22,1 |
| 65х65 | 65 | 65 | 145 | 145 | 527 | 27,3 |
| 80×80 | 80 | 80 | 155 | 155 | 606 | 40,6 |
| 100×100 | 100 | 100 | 175 | 175 | 657 | 50,4 |
| 125×125 | 125 | 125 | 200 | 200 | 707 | 65,0 |
| 150×150 | 150 | 150 | 225 | 225 | 883 | 132,7 |
| 200×200 | 200 | 200 | 225 | 250 | 959 | 176,5 |
Скачать
Скачать ТР ТС 010
Скачать ТР ТС 012
Скачать ТР ТС 032
Скачать СЕРТЭНЕРГО
Скачать сертификат сейсмостойкости
АСТА П123 15х15 скачать
АСТА П123 20х20 скачать
АСТА П123 25х25 скачать
АСТА П123 32х32 скачать
АСТА П123 40х40 скачать
АСТА П123 50х50 скачать
АСТА П123 65х65 скачать
Информация о доставке
Скачать опросный лист для предохранительных клапанов





