Характеристики
|
Однооборотные взрывозащищенные электроприводы с двусторонней муфтой ограничения крутящего момента с маркировкой взрывозащиты 1ЕхdIIBТ4 (тип присоединения к арматуре – по ISO 5211), применяются для управления трубопроводной запорной арматурой в химической, нефтяной, газовой, энергетической отраслях промышленности. Взрывозащищенные электроприводы могут устанавливаться во взрывоопасных зонах класса 1 по ГОСТ 30852.9-2002 в помещениях и на открытом воздухе под навесом, в соответствии с требованиями раздела 7 Правил устройства электроустановок (ПЭУ) для оборудования с маркировкой взрывозащиты 1ЕхdIIBT4. |
|
Параметры электропривода – ГЗ-ОФВ 380 В
|
![]() Однооборотный взрывозащищенный электропривод ГЗ-ОФВ-1200/30 380В |
Габаритные и установочные размеры
|
|
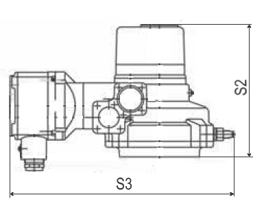
![]() Эскиз электропривода ГЗ-ОФВ 380 В вид спереди без штурвала |
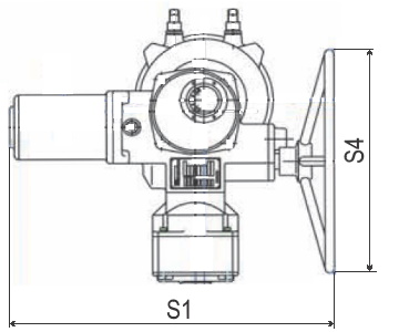
![]() Эскиз электропривода ГЗ-ОФВ 380 В вид сверху |
![]() Электрическая схема подключения электропривода ГЗ-ОФВ 380 В |
|










