Цена по запросу
Скачать полное описание
Технические характеристики
|
Номинальный диаметр DN |
15 – 200 |
|
|
Условное давление PN |
25 бар для DN 15 – 80 16 бар для DN 100 – 200 |
|
|
Температура рабочей среды |
От -30°С до 200 °С |
|
|
Рабочая среда |
Пар, воздух, а также другие среды, совместимые с материалами конструкции регулятора |
|
|
Диапазон давления настройки |
0,4-2,0 бар – красная пружина 1,0-8,0 бар – желтая пружина 4,0-12 бар – две пружины |
|
|
Пропускная способность клапана, Kvs |
2,5 – 125 м3/ч |
|
|
Класс герметичности |
PTFE |
VI по ГОСТ 9544-2015 |
| М-М | III по ГОСТ 9544-2015 | |
|
Зона нечувствительности |
Не более 2,5% от верхнего предела настройки по ГОСТ 11881-76 |
|
|
Зона пропорциональности |
Не более 6% от верхнего предела настройки по ГОСТ 11881-76 |
|
|
Положение безопасности |
Нормально-открытое |
|
|
Компенсация давления |
Разгруженный по давлению |
|
|
Отбор импульса рабочей среды |
Внешний |
|
|
Тип присоединения |
Фланцевый по ГОСТ 33259-2015, исп. В |
|
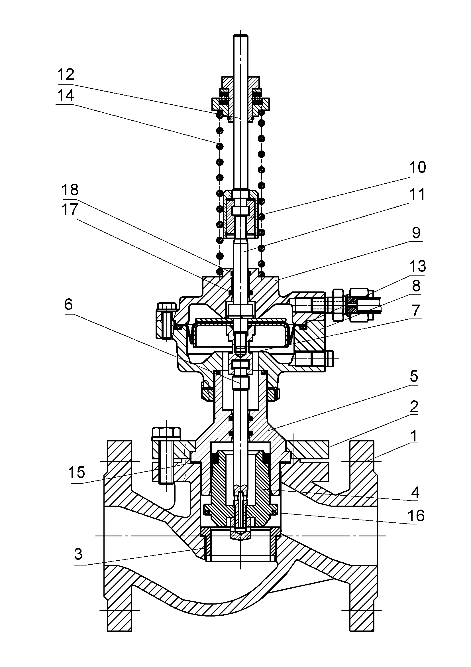
Спецификация материалов

|
№ |
Наименование |
Материал |
|
1 |
Корпус |
Высокопрочный чугун ВЧ40 |
|
2 |
Крышка |
Сталь 25 |
|
3 |
Седло |
Сталь 20Х13 |
|
4 |
Плунжер |
Сталь 20Х13 |
|
5 |
Втулка |
Сталь 20Х13 |
|
6 |
Шток нижний |
Сталь 20Х13 |
|
7 |
Муфта |
Сталь 20Х13 |
|
8 |
Крышка нижняя |
Серый чугун СЧ25 |
|
9 |
Крышка верхняя |
Серый чугун СЧ25 |
|
10 |
Муфта |
Сталь 20Х13 |
|
11 |
Шток привода нижний |
Сталь 20Х13 |
|
12 |
Шток привода верхний |
Сталь 20Х13 |
|
13 |
Мембрана |
EPDM |
|
14 |
Пружина |
60С2А |
|
15 |
Уплотнение корпуса |
Графлекс |
|
16 |
Уплотнение плунжера |
PTFE |
|
17 |
Уплотнение штока |
PTFE/ EPDM |
|
18 |
Уплотнение штока |
EPDM |
Массогабаритные характеристики и значения пропускной способности

|
DN |
L, мм |
H, мм |
Масса, кг |
Kvs, м3/ч |
|
15 |
130 |
403 |
8 |
4,0; 2,5 |
|
20 |
150 |
398 |
9 |
5,0; 4,0; 2,5 |
|
25 |
160 |
407 |
10 |
8,0; 6,3; 4,0 |
|
32 |
180 |
417 |
11 |
16; 8,0; 6,3 |
|
40 |
200 |
428 |
13 |
25; 16; 8,0 |
|
50 |
230 |
422 |
15 |
32; 25; 16 |
|
65 |
290 |
427 |
20 |
50; 32; 25 |
|
80 |
310 |
466 |
25 |
80; 50; 32 |
|
100 |
350 |
474 |
39 |
125; 80; 50 |
|
125 |
по запросу |
|||
|
150 |
||||
|
200 |
||||
Примечание: по запросу доступны другие значения Kvs.
Функциональные особенности регулирующего блока
При использовании регулирующего блока РПС регулятор функционирует в режиме регулятора давления «после себя», который предназначен для автоматического поддержания заданного давления рабочей среды на выходе из регулятора вне зависимости от ее расхода.

Схема подключения регулятора давления «после себя»
Скачать
Скачать ТР ТС 010
Скачать ТР ТС 032
Скачать СЕРТЭНЕРГО
Скачать сертификат сейсмостойкости
Информация о доставке
Скачать опросный лист для подбора регулятора давления “после себя”





