Скачать полное описание
Технические характеристики
|
Номинальный диаметр, DN |
10 – 25 (3/8” – 1”) |
|
Номинальное давление, PN |
40 бар |
|
Максимальное рабочее давление, Pmax |
25 бар |
|
Максимальная температура рабочей среды |
250 °С |
|
Рабочая среда |
Водяной пар |
|
Расположение на трубопроводе |
Горизонтально, вертикально |
|
Тип присоединения |
Резьбовой G (внутренняя) |
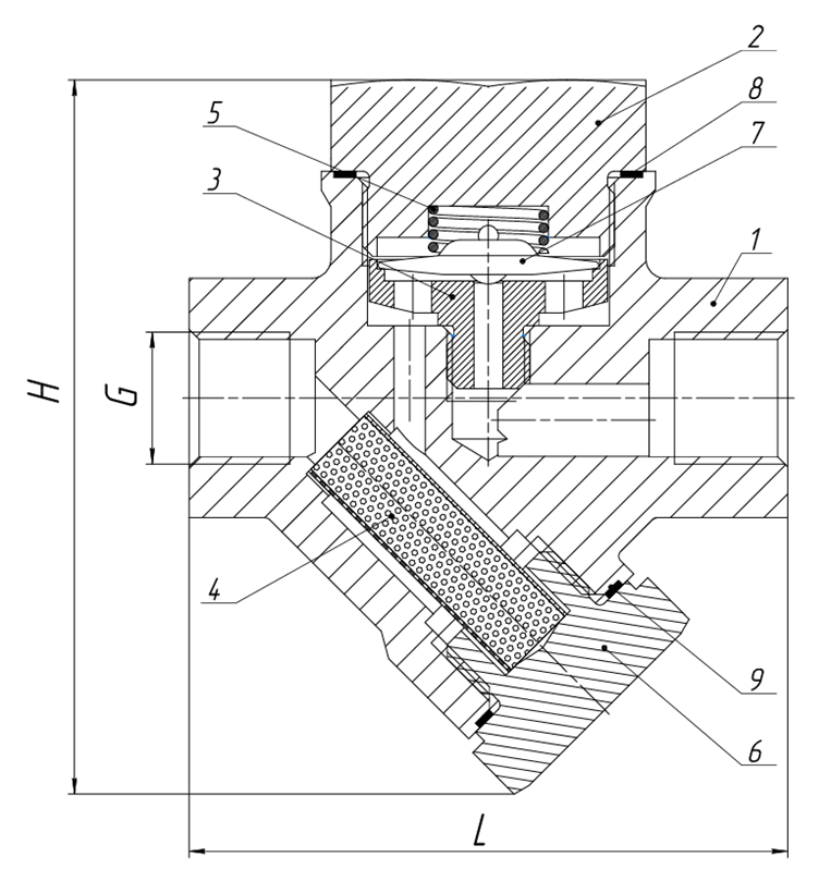
Спецификация материалов
|
№ |
Наименование |
Материал |
|
1 |
Корпус |
Сталь 20Л |
|
2 |
Крышка |
Сталь 20 |
|
3 |
Седло |
Нержавеющая сталь 20Х13 |
|
4 |
Фильтр |
Нержавеющая сталь 12Х18Н10Т |
|
5 |
Пружина |
Нержавеющая сталь 12Х18Н10Т |
|
6 |
Пробка |
Сталь 20 |
|
7 |
Капсула |
Нержавеющая сталь 08Х18Н10Т |
|
8 |
Уплотнение крышки |
Сталь AISI 304 + графит |
|
9 |
Уплотнение пробки |
Сталь AISI 304 + графит |

Массогабаритные характеристики
|
DN |
G” |
L,мм |
H,мм |
Масса,кг |
|
10 |
3/8” |
95 |
105 |
1,4 |
|
15 |
1/2” |
95 |
105 |
1,4 |
|
20 |
3/4” |
95 |
105 |
1,4 |
|
25 |
1” |
95 |
105 |
1,5 |
Ограничения применения
|
Давление рабочей среды, бар |
Максимальная температура рабочей среды, °С |
|
19,0 |
250 |
|
20,8 |
200 |
|
22 |
150 |
|
23,2 |
120 |
Скачать
Информация о доставке





